Find books across the catalog from one place.
This page is prepared as the search workspace. The search behavior itself can be connected in the next step.
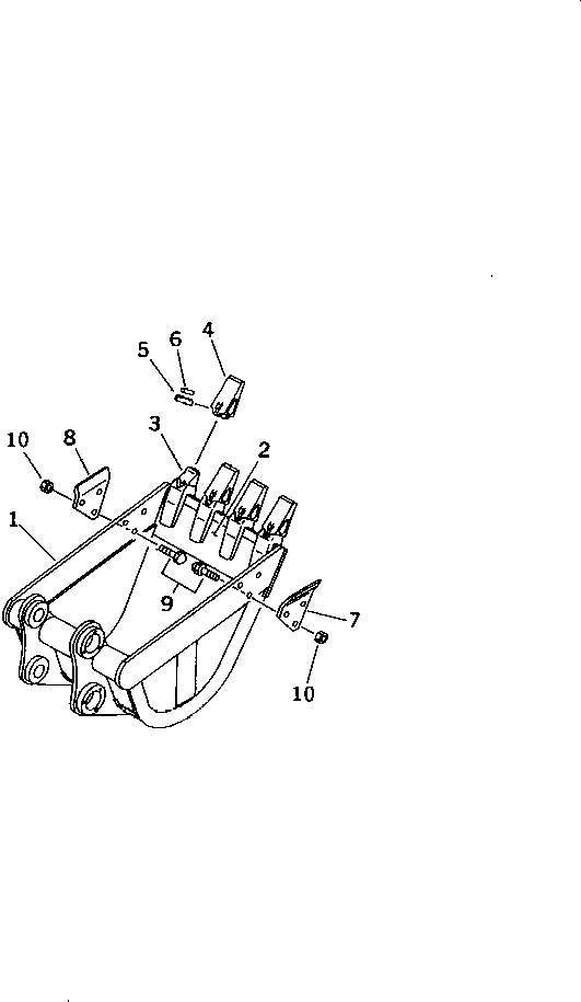
6212611203.REINFORCED BUCKET ? 0.08M3 (MINI 0.14M3) 500MM (VERTICAL PIN TYPE)(#6471-) (T1510-01A7) in PC25R-1 S/N 1001-UP. Diagram image and parts list.
Test text. Dear users! Access to the special equipment catalogs is paid. You can review the service usage rules and tariffs on the page!