|
|
? |
939 005 40
|
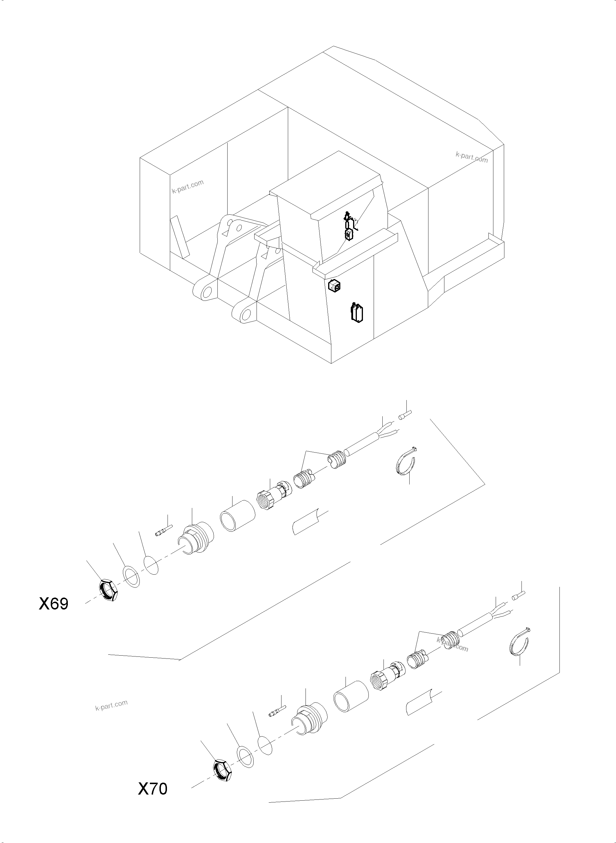
Harness X69-X2Y |
1 |
InternKon: 947 967 40 / 97
|
|
|
|
? |
939 006 40
|
Harness X70-X2Y |
1 |
InternKon: 947 967 40 / 98
|
|
|
|
? |
795 145 73
|
Socket |
1 |
InternBDB: HD34-24-31SE-059 KES 08191 000819194106 | InternKon: 939 005 40 / 1
|
|
|
|
? |
795 154 73
|
Cable socket |
24 |
InternBDB: 0462-201-16141 KES 08191 000819105420 | InternKon: 939 005 40 / 2
|
|
|
|
? |
907 980 40
|
Fitting DN 23 |
1 |
InternBDB: NW 23 BVIVG-U353 | InternKon: 939 005 40 / 3
|
|
|
|
? |
940 629 40
|
Warmth shrink hose |
-2 |
InternBDB: 05060 91F2570 | InternKon: 939 005 40 / 4
|
|
|
|
? |
655 652 40
|
Cable protection hose DN 23 |
-2 |
InternBDB: NW 23 VCSG-23B | InternKon: 939 005 40 / 5
|
|
|
|
? |
515 213 40
|
Cable 1,0 |
-2 |
InternBDB: PUR-LITZE 1,0MM2 BLAU | InternKon: 939 005 40 / 6
|
|
|
|
? |
940 169 40
|
Cable 4x1 |
-2 |
InternBDB: KENPUR 600C 4X 1,0MM2 CE | InternKon: 939 005 40 / 7
|
|
|
|
? |
256 514 40
|
Plate |
2 |
InternBDB: SCHILD 15X30X1,5 ALU | InternKon: 939 005 40 / 8
|
|
|
|
? |
174 411 40
|
Cable strap |
2 |
InternBDB: KABELBINDER 200X 4,8 5315/C | InternKon: 939 005 40 / 9
|
|
|
|
? |
056 070 40
|
Cable sleeve 1,0-1,5 |
30 |
InternBDB: KABELHUELSE 1,0-1,5 | InternKon: 939 005 40 / 10
|
|
|
|
? |
795 122 73
|
Sealing plug |
21 |
InternBDB: NO 114017 KES 08191 000819100770 | InternKon: 939 005 40 / 11
|
|
|
|
? |
795 141 73
|
Socket |
1 |
InternBDB: HD34-18-14SE-059 KES 08191 000819124106 | InternKon: 939 006 40 / 1
|
|
|
|
? |
907 975 40
|
Fitting DN 17 |
1 |
InternBDB: BVIVG-U297 | InternKon: 939 006 40 / 4
|
|
|
|
? |
655 651 40
|
Cable protection hose DN 17 |
1 |
InternBDB: VCSG-17B | InternKon: 939 006 40 / 6
|
|
|
|
? |
655 873 40
|
Cable 1,5 |
-2 |
InternBDB: PUR-LITZE 1,5MM2 BLAU | InternKon: 939 006 40 / 7
|
|
|
|
? |
0819150808
|
Nut |
4 |
InternBDB: 112263-90 795 150 73 KES08191 | InternKon: 939 005 40 / 12
|
|
|
|
? |
0819150809
|
Sicherungsscheibe |
4 |
InternBDB: 112264 795 151 73 KES08191 | InternKon: 939 005 40 / 13
|
|
|
|
? |
941328 40
|
Seal |
4 |
InternBDB: EPDM 44x51x2 70Shore 4900.02251 | InternKon: 939 005 40 / 14
|
|