Find books across the catalog from one place.
This page is prepared as the search workspace. The search behavior itself can be connected in the next step.
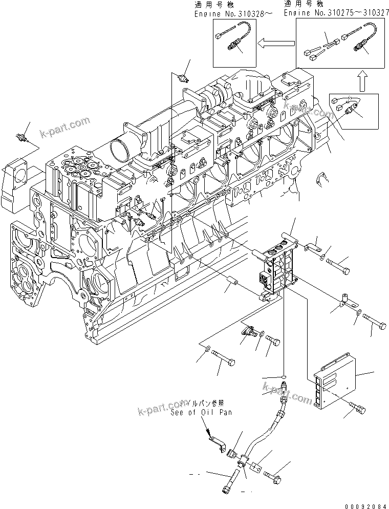
6212611203.FUEL CONTROL VALVE(#310164-310509) (A4710-Z6C5A) in SAA6D170E-3BC-8C S/N 310001-UP. Diagram image and parts list.
Test text. Dear users! Access to the special equipment catalogs is paid. You can review the service usage rules and tariffs on the page!