Search in all models by partnumber
Search current book

Komatsu PC100-5 S/N 28001-UP parts catalog PDF

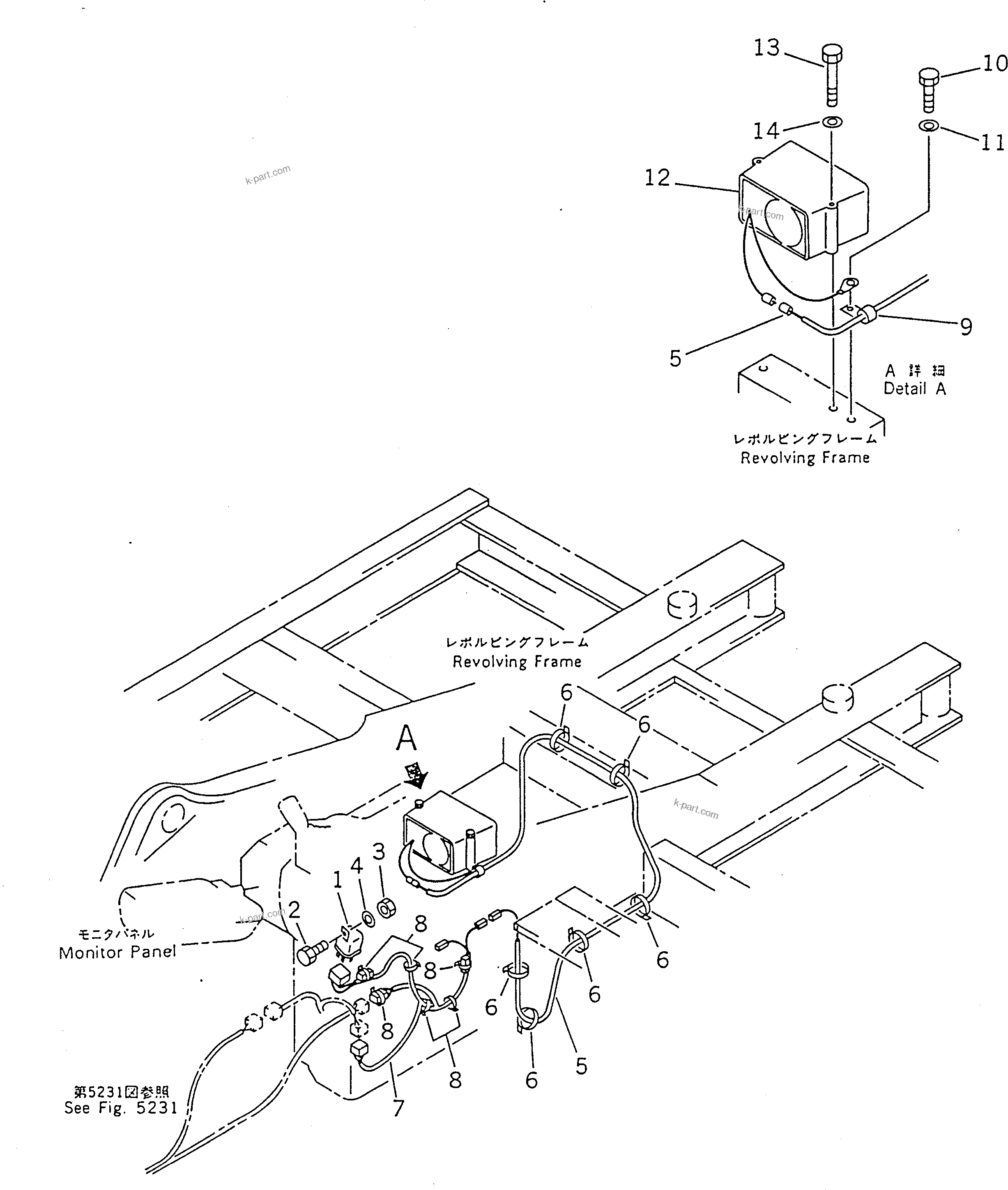
TRAVEL ALARM (FOR WRIST CONTROL LEVER) (STANDARD FOR U.S.A. ONLY)(#34349-) (1701) in PC100-5 S/N 28001-UP. Diagram image and parts list.

Model manual types and quick links