Search in all models by partnumber
Search current book

Komatsu PC100-5 S/N 28001-UP parts catalog PDF

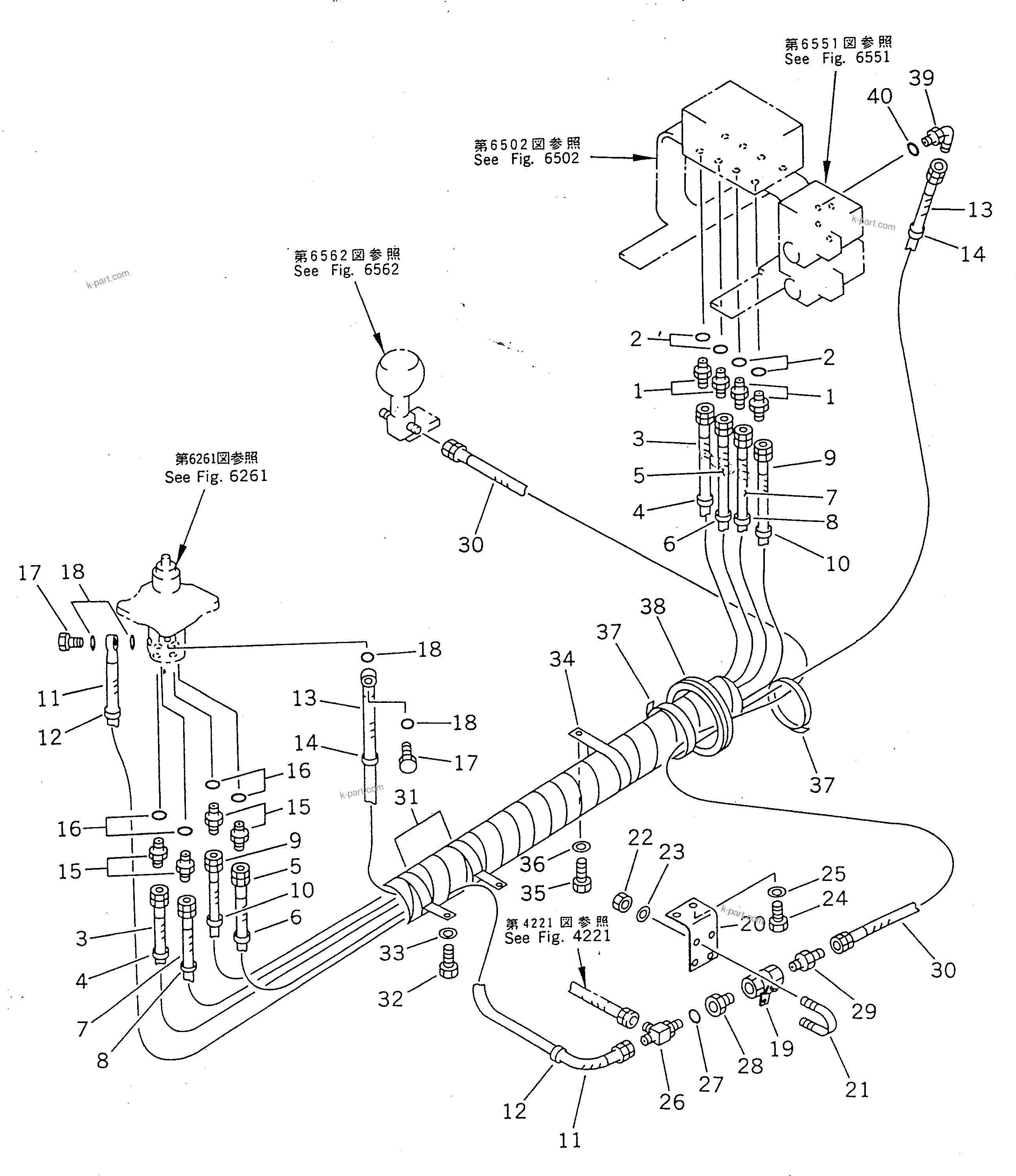
HYDRAULIC PIPING (WORK EQUIPMENT CONTROL ? L.H.) (FOR LONG LEVER CONTROL) (KOMATSU PATTERN)(#29806-29992) (4211A) in PC100-5 S/N 28001-UP. Diagram image and parts list.

Model manual types and quick links