Search in all models by partnumber
Search current book

Komatsu PC100-5 S/N 28001-UP parts catalog PDF

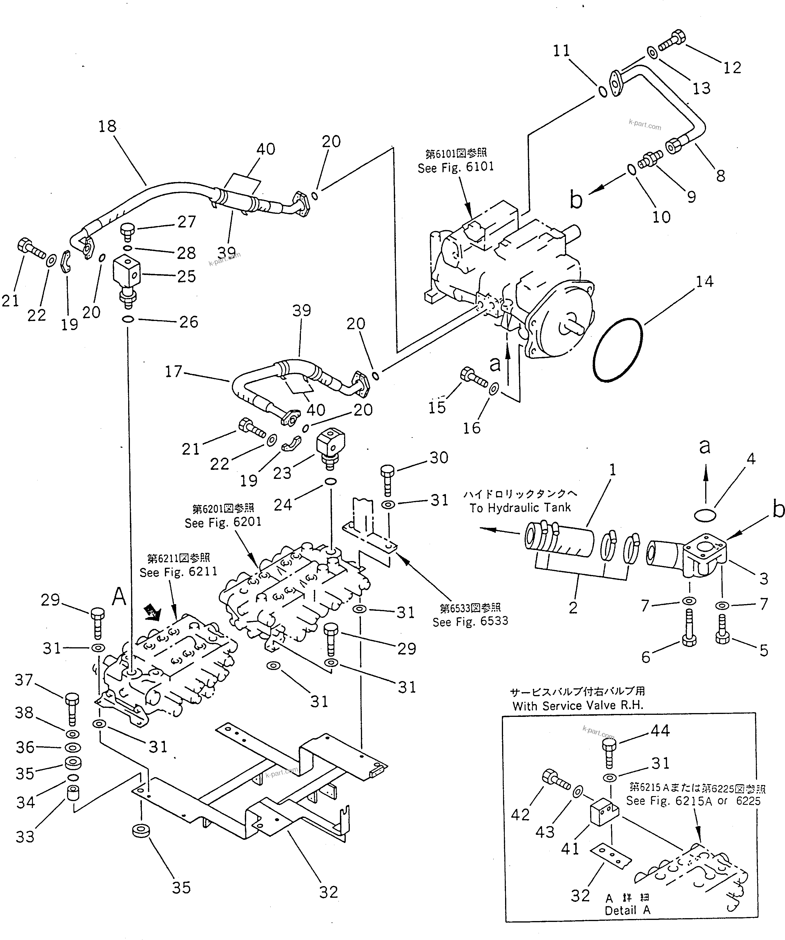
HYDRAULIC PIPING (SUCTION AND DELIVERY LINE) (6501) in PC100-5 S/N 28001-UP. Diagram image and parts list.

Model manual types and quick links