Find books across the catalog from one place.
This page is prepared as the search workspace. The search behavior itself can be connected in the next step.
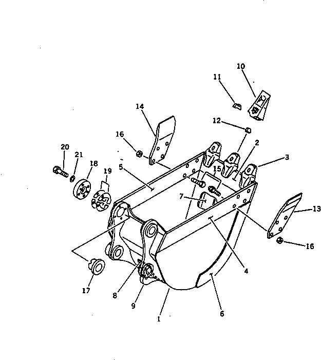
6212611203.BUCKET WITH HOOK ? 0.26M3 WIDTH 600MM (VERTICAL PIN TYPE) (EXCEPT JAPAN) (7725) in PC100-5 S/N 28001-UP. Diagram image and parts list.
Test text. Dear users! Access to the special equipment catalogs is paid. You can review the service usage rules and tariffs on the page!