Search in all models by partnumber
Search current book

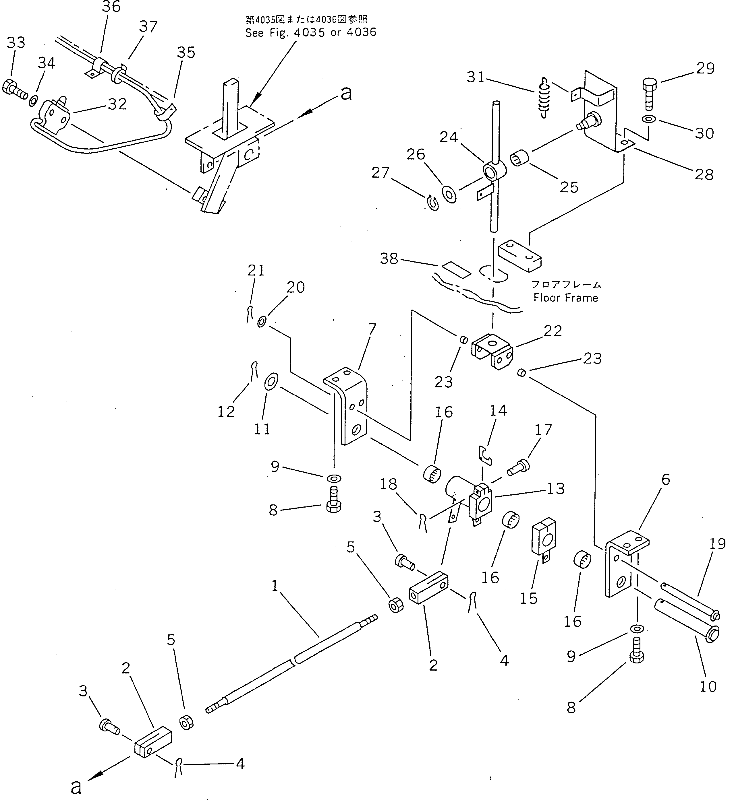
Komatsu PC100-5 S/N 28001-UP parts catalog PDF

CONTROL PEDAL AND LINKAGE (2/3) (CRUSHER AND OTHER ATTACHMENT)(#32402-) (4037A) in PC100-5 S/N 28001-UP. Diagram image and parts list.

Model manual types and quick links