Find books across the catalog from one place.
This page is prepared as the search workspace. The search behavior itself can be connected in the next step.
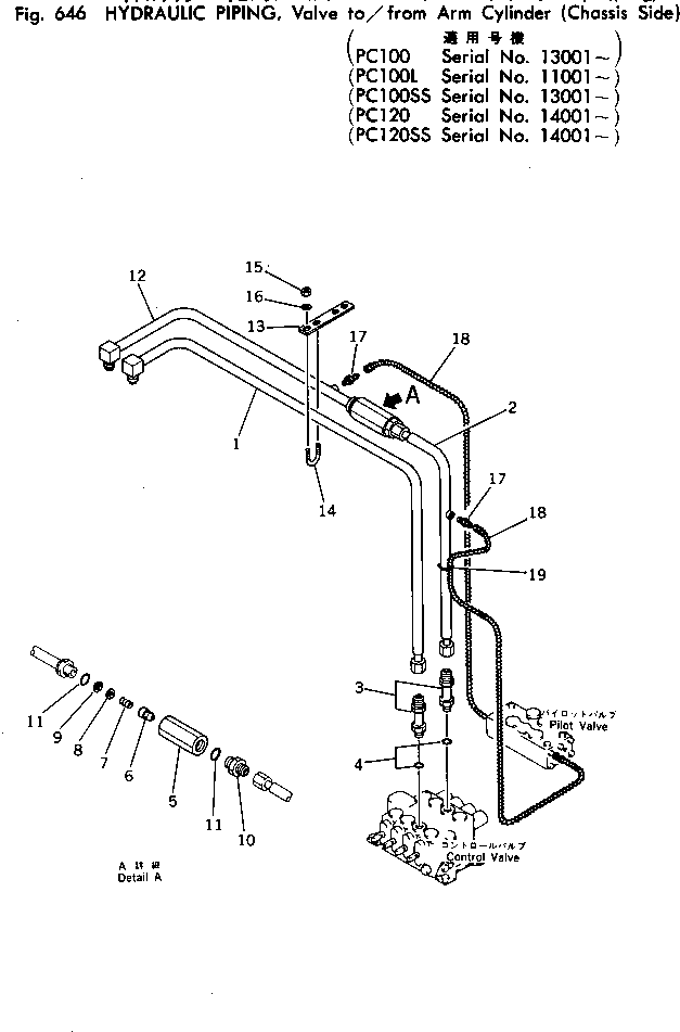
6212611203.HYD. PIPING (VALVE T/F ARM CYL.)(CHA. SIDE)(PC100)(PC100SS) (646) in PC100-2 S/N 13001-UP. Diagram image and parts list.
Test text. Dear users! Access to the special equipment catalogs is paid. You can review the service usage rules and tariffs on the page!