Find books across the catalog from one place.
This page is prepared as the search workspace. The search behavior itself can be connected in the next step.
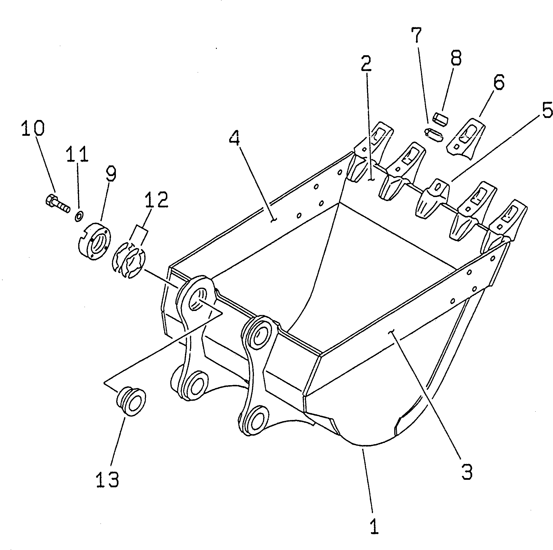
6212611203.BUCKET ? 0.9M3 (CECE 0.8M3) ? 1200MM (VERTICAL PIN TYPE) (WITH ADJUSTER)(#10022-) (T1510-01B3) in PC228UU-1-TN S/N 10001-UP. Diagram image and parts list.
Test text. Dear users! Access to the special equipment catalogs is paid. You can review the service usage rules and tariffs on the page!