Search in all models by partnumber
Search current book

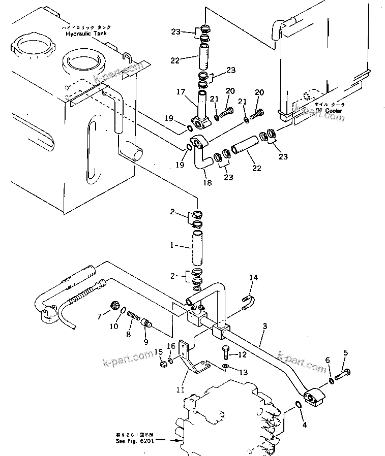
Komatsu PC220LC-3 S/N 20001-UP parts catalog PDF

HYDRAULIC PIPING (RETURN AND OIL COOLER) (WITH AUTO DECELERATION ? SWING MECHANICAL BRAKE)(#20001-20214) (6521) in PC220LC-3 S/N 20001-UP. Diagram image and parts list.

Model manual types and quick links