Search in all models by partnumber
Search current book

Komatsu PC220LC-3 S/N 20001-UP parts catalog PDF

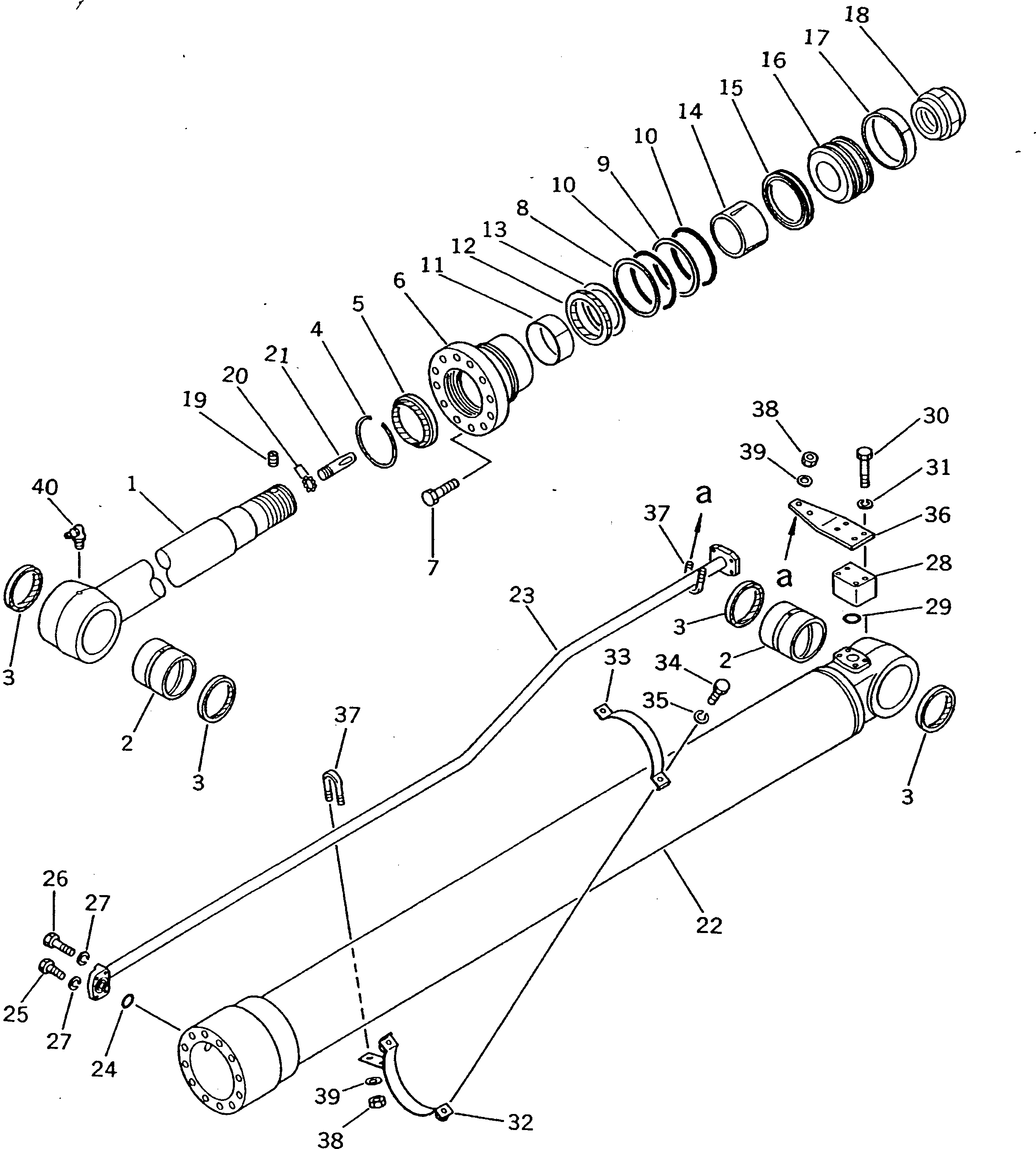
ARM CYLINDER (FOR 50 FEET LONG FRONT)(#23738-) (7648A) in PC220LC-3 S/N 20001-UP. Diagram image and parts list.

Model manual types and quick links