Search in all models by partnumber
Search current book

Komatsu PC220LC-3 S/N 20001-UP parts catalog PDF

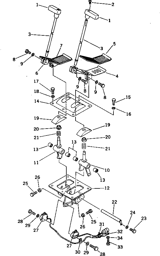
TRAVEL CONTROL LEVER AND LINKAGE (1/2) (FOR WRIST CONTROL) (WITH AUTO DECELERATION)(#21191-21569) (2311A) in PC220LC-3 S/N 20001-UP. Diagram image and parts list.

Model manual types and quick links