Find books across the catalog from one place.
This page is prepared as the search workspace. The search behavior itself can be connected in the next step.
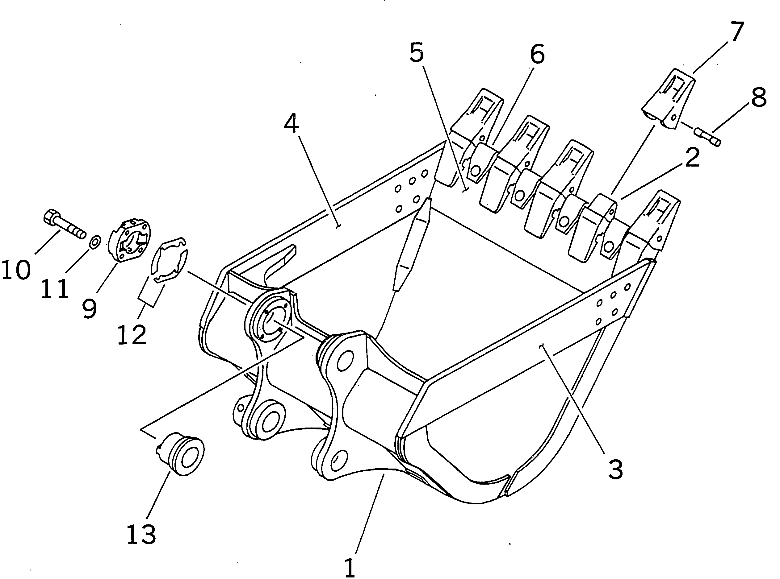
6212611203.BUCKET ? 1.2M3 ? 1340MM (HEAVY DUTY) (HORIZONTAL PIN TYPE) (WITH ADJUSTING) (T1510-01D8) in PC300-6Z S/N 30001-UP. Diagram image and parts list.
Test text. Dear users! Access to the special equipment catalogs is paid. You can review the service usage rules and tariffs on the page!