Find books across the catalog from one place.
This page is prepared as the search workspace. The search behavior itself can be connected in the next step.
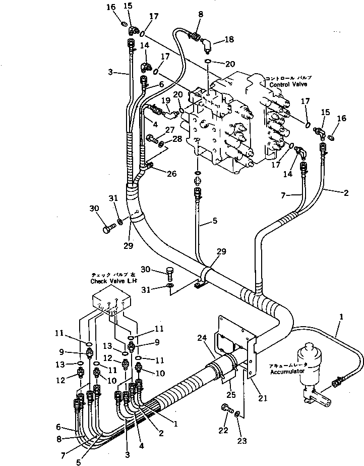
6212611203.PPC VALVE PIPING(2/3)(FOR WRIST CONTROL)(WITHOUT AUTO DECELERATION)(WITHOUT SWING MECHANICAL BRAKE)(#12001-12637) (4523) in PC300LC-3 S/N 12001-UP. Diagram image and parts list.
Test text. Dear users! Access to the special equipment catalogs is paid. You can review the service usage rules and tariffs on the page!