|
|
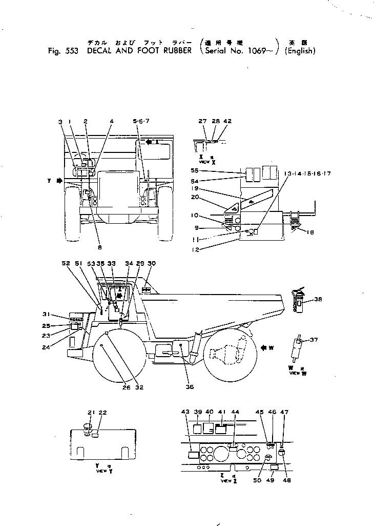
1 |
09637-70160
|
PLATE ? INSTRUCTION,AIR CLEANER |
2 |
SN: 1002-UP
|
|
|
|
2 |
09152-10000
|
PLATE ? SAFETY,AIR RESERVOIR |
1 |
SN: 1002-UP
|
|
|
|
3 |
08670-00635
|
INDICATOR,DUST |
1 |
SN: 1002-UP
|
|
|
|
4 |
566-54-19131
|
PLATE ? CAUTION,BRAKE TANK |
1 |
SN: 1002-UP
|
|
|
|
5 |
09602-01643
|
PLATE ? NAME,(LIMITED SUPPLY) |
1 |
SN: 1002-UP
|
|
|
|
6 |
01370-00408
|
SCREW |
4 |
SN: 1002-UP
|
|
|
|
7 |
01611-04045
|
WASHER |
4 |
SN: 1002-UP
|
|
|
|
8 |
09659-11000
|
PLATE ? SAFETY,FRONT SUSPENSION |
2 |
SN: 1002-UP
|
|
|
|
9 |
566-54-12981
|
RUBBER |
1 |
SN: 1069-UP
|
|
|
|
10 |
09645-00120
|
PLATE ? INSTRUCTION,BYPASS FILTER |
1 |
SN: 1002-UP
|
|
|
|
11 |
09650-50103
|
PLATE ? INSTRUCTION,WATER LEVEL |
1 |
SN: 1002-UP
|
|
|
|
12 |
09668-10000
|
PLATE ? SAFETY,RADIATOR CAP |
1 |
SN: 1002-UP
|
|
|
|
13 |
566-93-13910
|
PLATE ? CAUTION |
1 |
SN: 1002-UP
|
|
|
|
14 |
566-93-11510
|
PLATE ? MARK |
1 |
SN: 1002-UP
|
|
|
|
15 |
01220-40408
|
SCREW |
2 |
SN: 1002-UP
|
|
|
|
16 |
01601-20410
|
WASHER,SPRING |
2 |
SN: 1002-UP
|
|
|
|
17 |
01641-20405
|
WASHER |
2 |
SN: 1002-UP
|
|
|
|
18 |
566-54-12871
|
RUBBER |
1 |
SN: 1069-UP
|
|
|
|
19 |
566-54-12811
|
SHEET |
1 |
SN: 1002-UP
|
|
|
|
20 |
566-54-12831
|
RUBBER |
1 |
SN: 1002-UP
|
|
|
|
21 |
09652-11100
|
PLATE ? CAUTION,FUEL TANK |
1 |
SN: 1002-UP
|
|
|
|
22 |
09101-10000
|
PLATE ? CAUTION,FUEL OIL |
1 |
SN: 1002-UP
|
|
|
|
23 |
569-93-13111
|
CHART,LUBRICATION |
1 |
SN: 1069-UP
|
|
|
|
24 |
09645-00120
|
PLATE ? INSTRUCTION,FULL FLOW FILTER |
1 |
SN: 1069-UP
|
|
|
|
25 |
09667-10000
|
PLATE ? SAFETY,ENGINE COVER |
2 |
SN: 1002-UP
|
|
|
|
26 |
6715-82-1230
|
PLATE,FUEL FILTER |
1 |
SN: 1002-UP
|
|
|
|
27 |
566-93-13810
|
PLATE,CENTRAL WARNING LAMP |
1 |
SN: 1069-UP
|
|
|
|
28 |
09151-10000
|
PLATE ? SAFETY,STARTING |
1 |
SN: 1002-UP
|
|
|
|
29 |
566-54-19411
|
PLATE ? NAME,DUMP LEVER |
1 |
SN: 1002-UP
|
|
|
|
30 |
566-93-11120
|
PLATE ? MARK |
2 |
SN: 1002-UP
|
|
|
|
31 |
569-93-13120
|
PLATE ? MARK,HD460 |
2 |
SN: 1002-UP
|
|
|
|
32 |
6715-81-1320
|
PLATE ? CAUTION,CORROSION RESISTOR |
1 |
SN: 1002-UP
|
|
|
|
34 |
566-54-19330
|
PLATE ? CAUTION,ETHER SPRAY |
1 |
SN: 1002-UP
|
|
|
|
35 |
09155-10000
|
PLATE ? SAFETY,VESSEL STOPPER |
1 |
SN: 1002-UP
|
|
|
|
36 |
09653-11000
|
PLATE ? SAFETY,HYDRAULIC TANK |
1 |
SN: 1002-UP
|
|
|
|
37 |
09659-13000
|
PLATE ? SAFETY,REAR SUSPENSION |
2 |
SN: 1002-UP
|
|
|
|
38 |
09495-40200
|
PLATE ? NAME,EXTINGUISHER |
1 |
SN: 1002-UP
|
|
|
|
39 |
09156-10000
|
PLATE ? SAFETY |
1 |
SN: 1002-UP
|
|
|
|
40 |
437-54-15111
|
PLATE ? OPERATING |
1 |
SN: 1002-UP
|
|
|
|
41 |
566-93-13930
|
PLATE ? OPERATING,VESSEL OPERATING |
1 |
SN: 1002-UP
|
|
|
|
42 |
09157-13000
|
PLATE,REAR BRAKE OIL TEMPERATURE |
1 |
SN: 1002-UP
|
|
|
|
43 |
09649-00400
|
PLATE ? INSTRUCTION |
1 |
SN: 1002-UP
|
|
|
|
44 |
568-54-19130
|
PLATE,RETARDER |
1 |
SN: 1002-UP
|
|
|
|
45 |
567-54-19170
|
PLATE ? NAME,RETARDER LAMP |
1 |
SN: 1002-UP
|
|
|
|
46 |
285-54-19460
|
PLATE ? NAME,LOCK-UP |
1 |
SN: 1002-UP
|
|
|
|
47 |
566-06-13470
|
PLATE ? OPERATING,PARKING LAMP |
1 |
SN: 1002-UP
|
|
|
|
48 |
565-91-11330
|
PLATE ? OPERATING,PARKING LEVER |
1 |
SN: 1002-UP
|
|
|
|
49 |
09651-10000
|
PLATE ? SAFETY,BEFORE OPERATING |
1 |
SN: 1002-UP
|
|
|
|
50 |
09683-00170
|
PLATE ? OPERATING,STARTING SWITCH |
1 |
SN: 1002-UP
|
|
|
|
51 |
566-93-13110
|
PLATE ? NAME,FUSE BOX |
1 |
SN: 1002-UP
|
|
|
|
52 |
566-93-13121
|
PLATE ? NAME,FUSE BOX |
1 |
SN: 1002-UP
|
|
|
|
53 |
566-93-13820
|
PLATE ? OPERATING,TURN SIGNAL |
1 |
SN: 1002-UP
|
|
|
|
54 |
09664-30081
|
PLATE ? INSTRUCTION,BATTERY |
1 |
SN: 1002-UP
|
|
|
|
55 |
09664-30065
|
PLATE ? INSTRUCTION,BATTERY |
1 |
SN: 1002-UP
|
|