Search in all models by partnumber
Search current book

Komatsu PC20-6 S/N 24001-UP parts catalog PDF

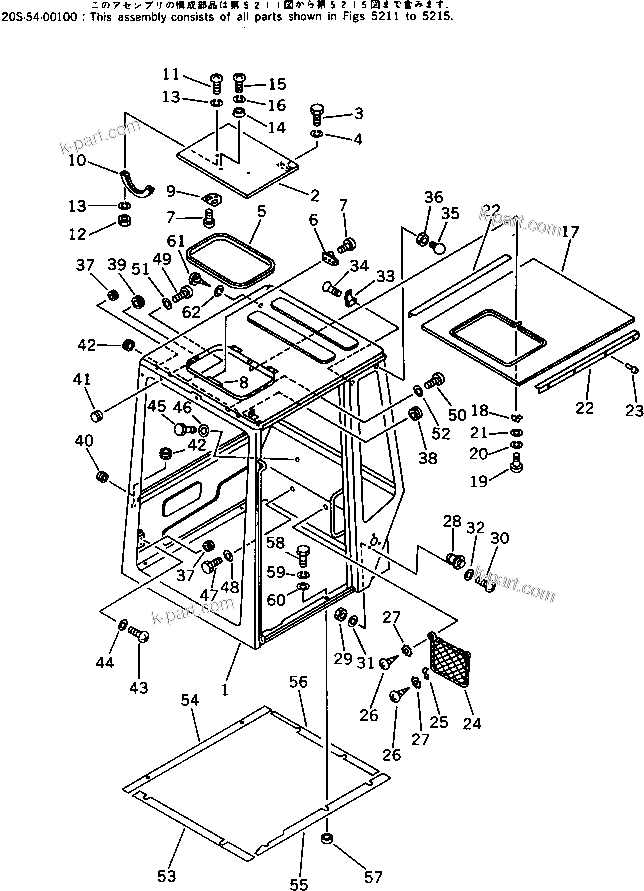
OPERATOR'S CAB (1/4)(#24001-29360) (5211) in PC20-6 S/N 24001-UP. Diagram image and parts list.

Model manual types and quick links