|
|
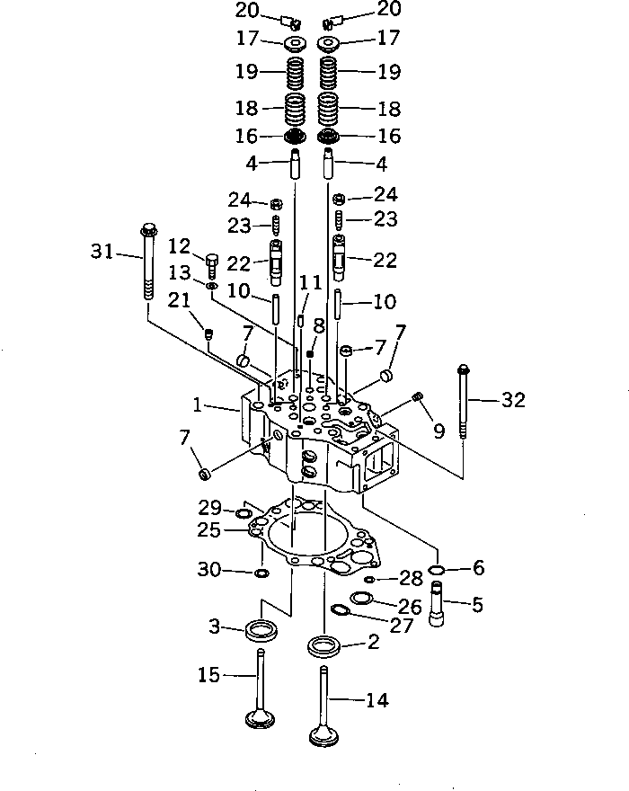
|1 |
6212-11-1103
|
CYLINDER HEAD ASS'Y,VALVE LESS |
12 |
SN: 10584-UP
|
|
|
|
|1 |
6215-15-1200
|
CYLINDER HEAD A.,VALVE LESS |
12 |
SN: 10517-10583
|
|
|
|
1 |
|
HEAD,CYLINDER |
1 |
SN: 10584-UP
|
|
|
|
|1 |
|
HEAD,CYLINDER |
1 |
SN: 10517-10583
|
|
|
|
2 |
6212-11-1330
|
INSERT,INTAKE VALVE (STD) |
2 |
SN: 10517-UP
|
|
|
|
|2 |
6212-19-1330
|
INSERT¤ 0.25MM,INTAKE VALVE (OS) |
2 |
SN: 10517-UP
|
|
|
|
|2 |
6212-18-1330
|
INSERT¤ 0.50MM,INTAKE VALVE (OS) |
2 |
SN: 10517-UP
|
|
|
|
|2 |
6212-17-1330
|
INSERT¤ 0.75MM,INTAKE VALVE (OS) |
2 |
SN: 10517-UP
|
|
|
|
|2 |
6212-16-1330
|
INSERT¤ 1.00MM,INTAKE VALVE (OS) |
2 |
SN: 10517-UP
|
|
|
|
3 |
6210-11-1321
|
INSERT,EXHAUST VALVE (STD) |
2 |
SN: 10517-UP
|
|
|
|
|3 |
6210-19-1321
|
INSERT¤ 0.25MM,EXHAUST VALVE (OS) |
2 |
SN: 10517-UP
|
|
|
|
|3 |
6210-18-1321
|
INSERT¤ 0.50MM,EXHAUST VALVE (OS) |
2 |
SN: 10517-UP
|
|
|
|
|3 |
6210-17-1321
|
INSERT¤ 0.75MM,EXHAUST VALVE (OS) |
2 |
SN: 10517-UP
|
|
|
|
|3 |
6210-16-1321
|
INSERT¤ 1.00MM,EXHAUST VALVE (OS) |
2 |
SN: 10517-UP
|
|
|
|
4 |
6212-11-1440
|
GUIDE,VALVE |
4 |
SN: 10584-UP
|
|
|
|
|4 |
6212-15-1421
|
GUIDE,VALVE |
4 |
SN: 10517-10583
|
|
|
|
5 |
6210-11-1150
|
PIPE |
1 |
SN: 10517-UP
|
|
|
|
6 |
07000-63025
|
O-RING (K1) |
1 |
SN: 10517-UP
|
|
|
|
7 |
6162-13-1150
|
PLUG,EXPANSION |
12 |
SN: 10517-UP
|
|
|
|
8 |
07046-41810
|
PLUG,EXPANSION |
1 |
SN: 10517-UP
|
|
|
|
9 |
07043-50108
|
PLUG |
1 |
SN: 10517-UP
|
|
|
|
10 |
6210-11-1140
|
GUIDE,CROSSHEAD |
2 |
SN: 10517-UP
|
|
|
|
11 |
04020-00820
|
PIN,DOWEL |
2 |
SN: 10517-UP
|
|
|
|
12 |
01010-51016
|
BOLT |
1 |
SN: 10517-UP
|
|
|
|
13 |
07003-01015
|
GASKET |
1 |
SN: 10517-UP
|
|
|
|
14 |
6215-41-4110
|
VALVE,INTAKE |
24 |
SN: 10517-UP
|
|
|
|
15 |
6215-41-4212
|
VALVE,EXHAUST |
24 |
SN: 10517-UP
|
|
|
|
16 |
6210-41-4530
|
SEAT,LOWER |
48 |
SN: 10517-UP
|
|
|
|
17 |
6210-41-4510
|
SEAT,UPPER |
48 |
SN: 10517-UP
|
|
|
|
18 |
6210-41-4430
|
SPRING,OUTER |
48 |
SN: 10517-UP
|
|
|
|
19 |
6210-41-4440
|
SPRING,INNER |
48 |
SN: 10517-UP
|
|
|
|
20 |
6136-41-4520
|
COTTER |
48 |
SN: 10517-UP
|
|
|
|
21 |
02720-40104
|
PLUG |
12 |
SN: 10517-10583
|
|
|
|
22 |
6210-41-5630
|
CROSSHEAD |
24 |
SN: 10517-UP
|
|
|
|
23 |
6210-41-5640
|
SCREW |
24 |
SN: 10517-UP
|
|
|
|
24 |
6162-43-5630
|
NUT |
24 |
SN: 10584-UP
|
|
|
|
|24 |
6127-41-5630
|
NUT |
24 |
SN: 10517-10583
|
|
|
|
25 |
6210-17-1813
|
GASKET,HEAD (K1) |
12 |
SN: 10517-UP
|
|
|
|
26 |
6210-11-1820
|
GROMMET,OIL |
1 |
SN: 10517-UP
|
|
|
|
27 |
6210-11-1830
|
GROMMET,OIL |
1 |
SN: 10517-UP
|
|
|
|
28 |
6210-11-1840
|
GROMMET,OIL |
1 |
SN: 10517-UP
|
|
|
|
29 |
6210-11-1962
|
GROMMET,WATER |
1 |
SN: 10517-UP
|
|
|
|
30 |
6210-11-1952
|
GROMMET,WATER |
4 |
SN: 10517-UP
|
|
|
|
31 |
6210-11-1610
|
BOLT,HEAD |
72 |
SN: 10517-UP
|
|
|
|
32 |
01438-01020
|
BOLT,HEAD |
12 |
SN: 10517-UP
|
|