×
Type at least 3 characters to filter machine models.
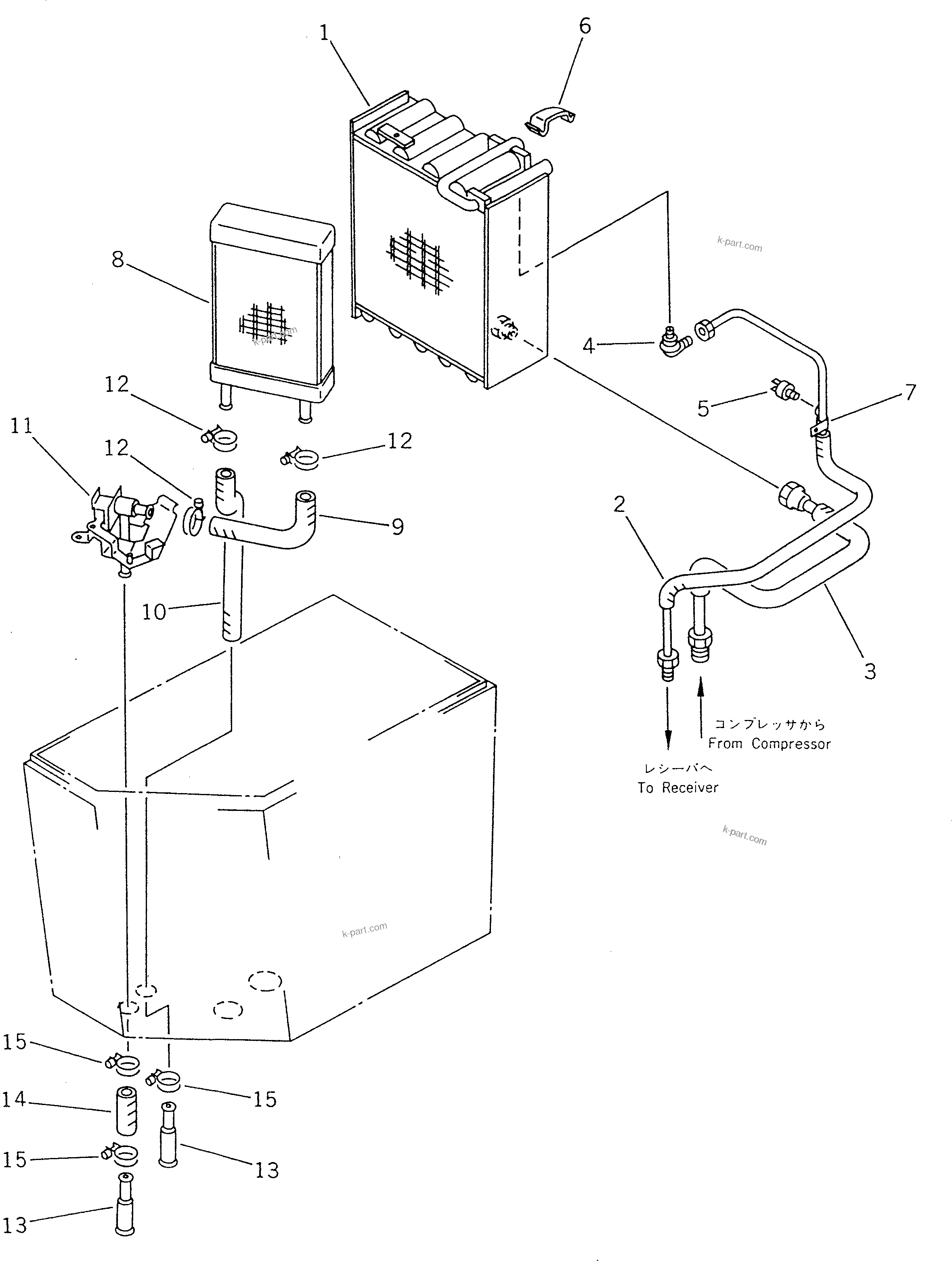
+ EXCAVATORS (Komatsu) + BACKHOELOADERS (Komatsu) + EXCAVATORS MINING (Komatsu) + REMANUFACTURED COMPONENTS (Komatsu) + BULLDOZERS (Komatsu) + COMPACTORS (Komatsu) + COMPRESSORS (Komatsu) + CRANES (Komatsu) + CRAWLER CARRIERS (Komatsu) + CRAWLER LOADERS (Komatsu) + CRAWLER STABILIZERS (Komatsu) + DIESEL GENERATORS (Komatsu) + DUMP TRUCKS (Komatsu) + ENGINES (Komatsu) + FORESTRY (Komatsu) + FORK LIFT (Komatsu) + GRADERS (Komatsu) + HYDRAULIC BRAKERS (Komatsu) + MOBILE CRUSHERS AND RECYCLERS (Komatsu) + LIME SPREADERS (Komatsu) + OTHER (Komatsu) + PIPELAYERS (Komatsu) + ROAD CUTTERS (Komatsu) + ROLLERS (Komatsu) + SCRAPPERS (Komatsu) + SKID STEER LOADERS (Komatsu) + TELESCOPIC HANDLERS (Komatsu) + WHEEL LOADERS (Komatsu) + WHEEL STABILIZERS (Komatsu) - WHEEL DOZERS (Komatsu) - WD600-1 S/N 10001-UP (WD600-1C) - FRAME AND GUARD (|150000) AIR CONDITIONER UNIT (NIPPON DENSO) (2/5) (EVAPORATOR ? HEATER COIL AND RELATED PARTS) (R134A)(#.-) (5632A) + WHINCHES (Komatsu) + CRAWLER BULLDOZERS (Dressta) + CRAWLER LOADERS (Dressta) + GRADERS (Dressta) + MOBILE CRANES (Dressta) + ROAD CUTTER (Dressta) + ROLLERS (Dressta) + WHEEL DOZERS (Dressta) + WHEEL LOADERS (Dressta) + OTHER: DOOSAN-DAEWOO + MANUFACTURING RUS (Komatsu) + NEW MODELS + REF + FUEL EQUIPMENT
Search in All Books
Find books across the catalog from one place.
This page is prepared as the search workspace. The search behavior itself can be connected in the next step.
Search whole Komatsu part number in all books. Example: 6212611203.
WD600-1 S/N 10001-UP
⤢
Fit
Komatsu WD600-1 S/N 10001-UP parts catalog PDF
AIR CONDITIONER UNIT (NIPPON DENSO) (2/5) (EVAPORATOR ? HEATER COIL AND RELATED PARTS) (R134A)(#.-) (5632A) in WD600-1 S/N 10001-UP. Diagram image and parts list.
Model manual types and quick links