Find books across the catalog from one place.
This page is prepared as the search workspace. The search behavior itself can be connected in the next step.
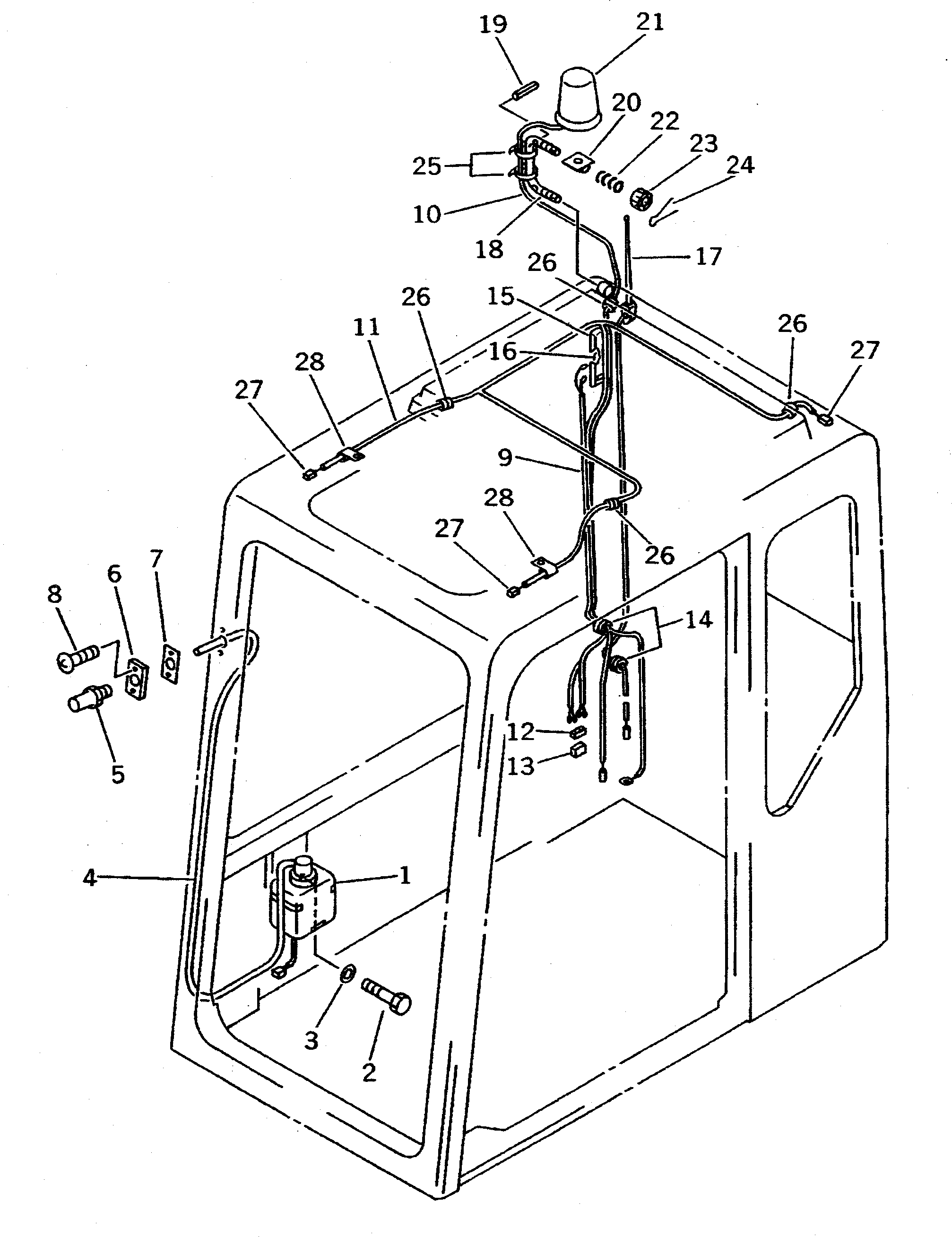
6212611203.OPERATOR'S CAB (4/6) (WINDOW WASHER AND ELECTRICAL SYSTEM) (SCANDINAVIAN SPEC.)(#K20001-.) (5314) in PC300LC-5K S/N K20001-UP. Diagram image and parts list.
Test text. Dear users! Access to the special equipment catalogs is paid. You can review the service usage rules and tariffs on the page!