Komatsu 6D125-1J-EA S/N 10001-UP parts catalog PDF

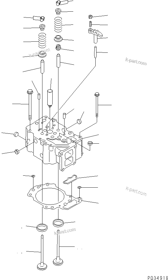
CYLINDER HEAD(#26679-) (A1010-01A0A) in 6D125-1J-EA S/N 10001-UP. Diagram image and parts list.

Model manual types and quick links