Find books across the catalog from one place.
This page is prepared as the search workspace. The search behavior itself can be connected in the next step.
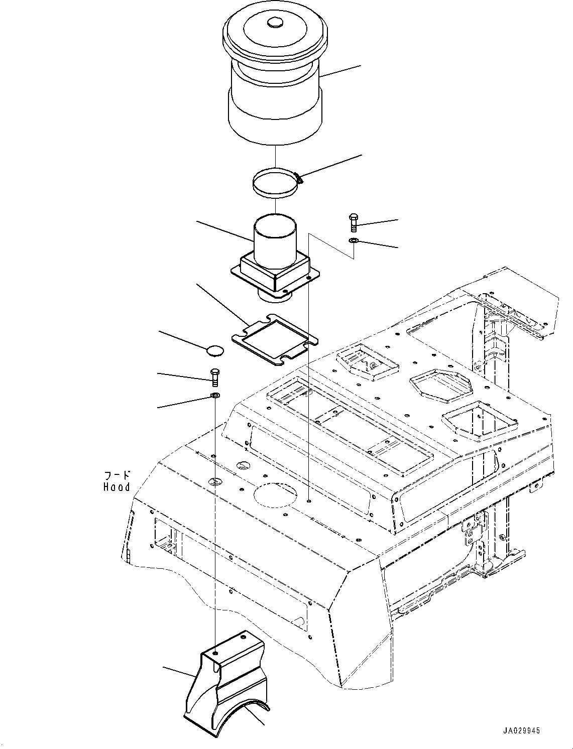
6212611203.HOOD, PRE-CLEANER BRACKET (WITH AIR INTAKE EXTENSION, PRE-CLEANER TURBO 2 TYPE)(#85001-) (M4100-011007) in WA200-8 S/N 91001-UP. Diagram image and parts list.
Test text. Dear users! Access to the special equipment catalogs is paid. You can review the service usage rules and tariffs on the page!