Find books across the catalog from one place.
This page is prepared as the search workspace. The search behavior itself can be connected in the next step.
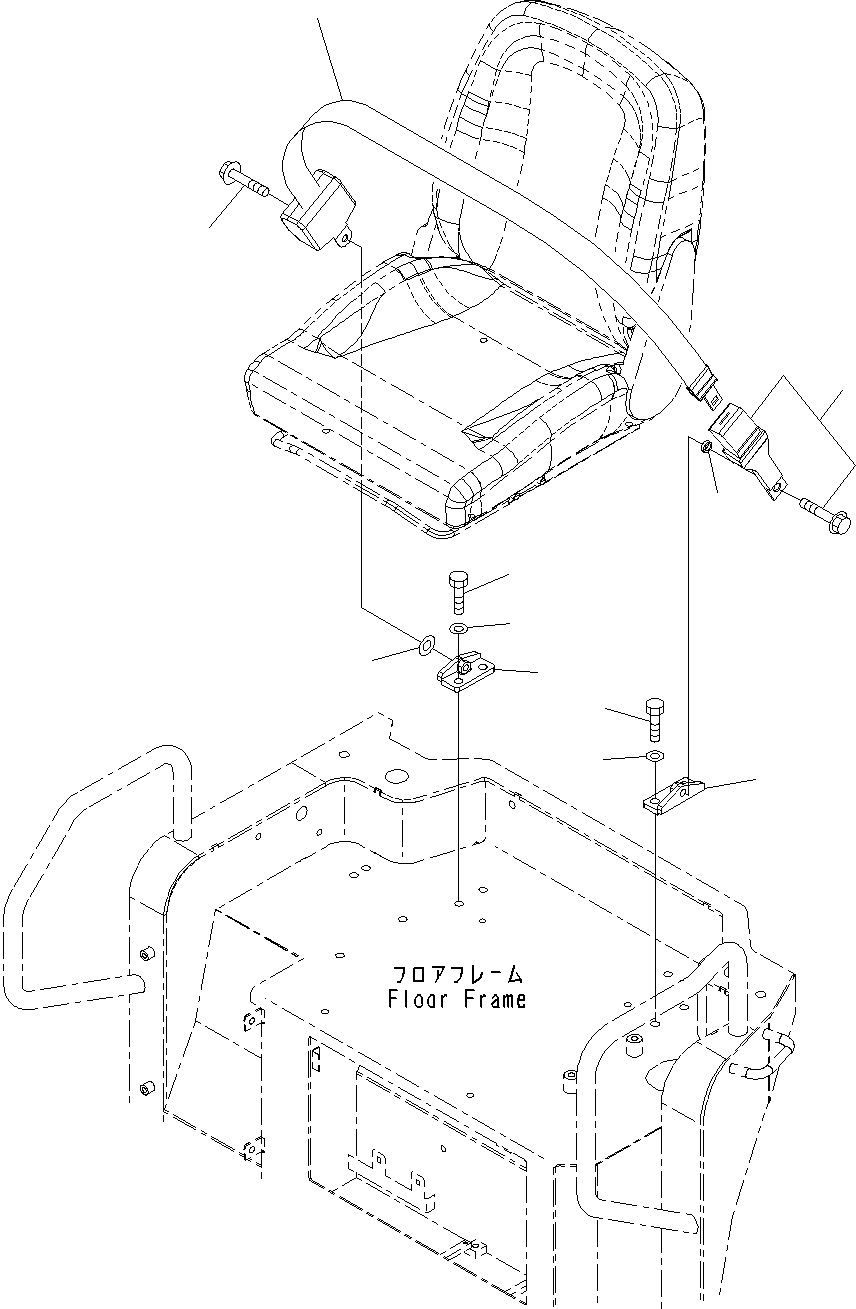
6212611203.ј ?ДНЮЩД, (50MM ј ?Д НЮЩД, 2 “_Ћ ?, ШјЮЇДЮ АІМЯ ?НЯЪ ?А ј ?Д)(#15001-) (K0160-001001) in PC55MR-3 S/N 15001-UP. Diagram image and parts list.
Test text. Dear users! Access to the special equipment catalogs is paid. You can review the service usage rules and tariffs on the page!