Komatsu PC55MR-3 S/N 15001-UP parts catalog PDF

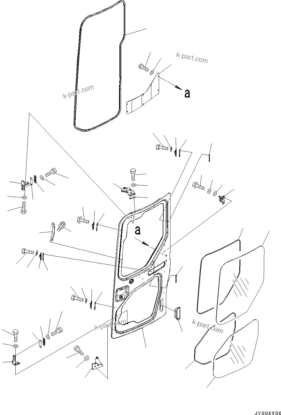
? ?МЮ, ДЮ ?(#15001-16000) (K0210-003004) in PC55MR-3 S/N 15001-UP. Diagram image and parts list.

Model manual types and quick links