Search in all models by partnumber
Search current book

Komatsu PC55MR-3 S/N 15001-UP parts catalog PDF

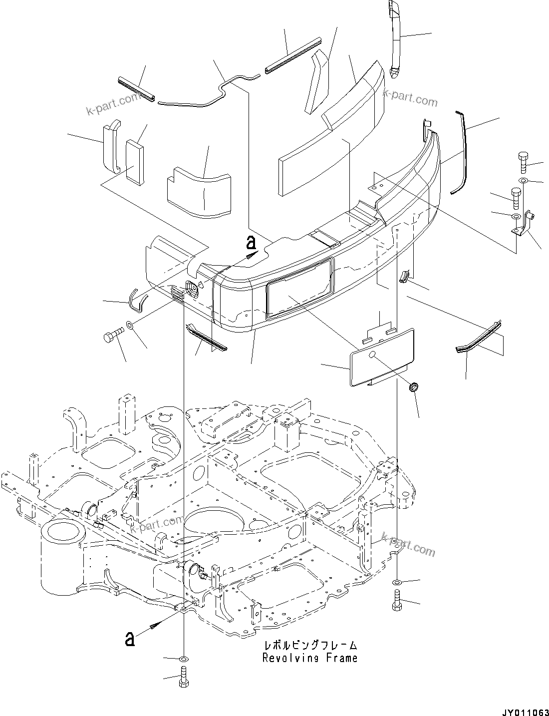
Ќ ? ?КЮ ?, (“ъ–{ —P)(#15001-16500) (M1130-003001) in PC55MR-3 S/N 15001-UP. Diagram image and parts list.

Model manual types and quick links