Search in all models by partnumber
Search current book

Komatsu D65PX-16 S/N 80001-UP parts catalog PDF

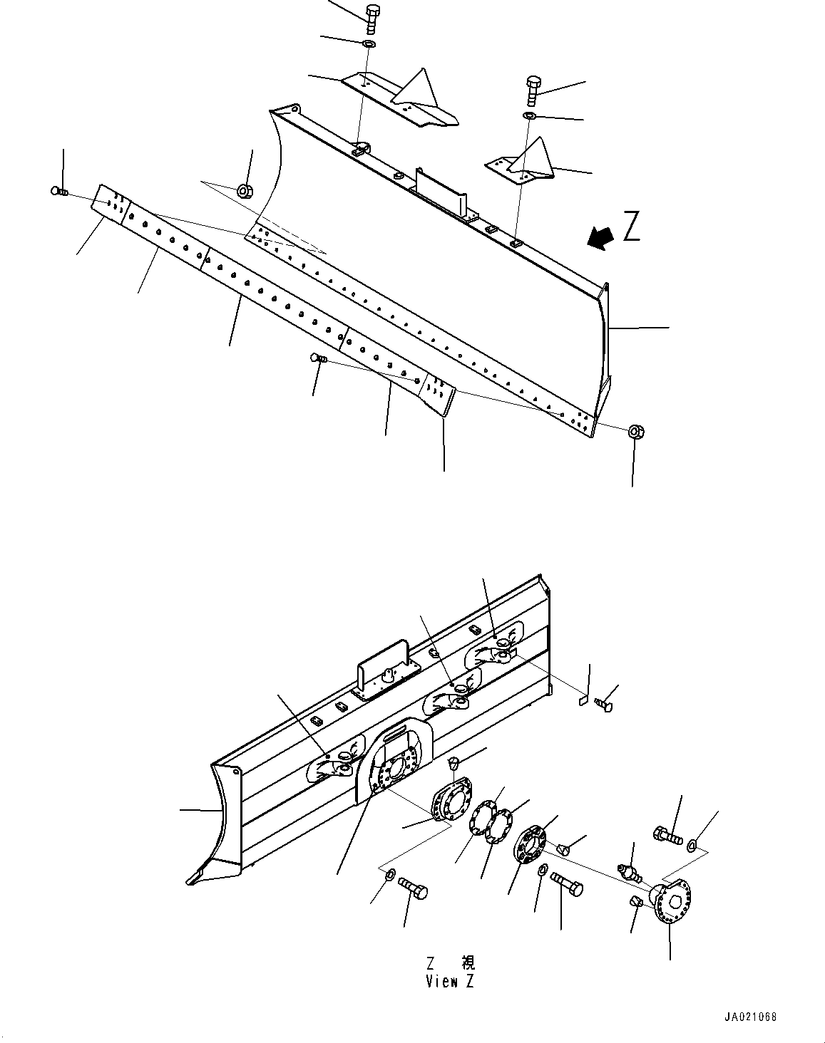
ДЮ ? ?Ю МЮЪ ?ДЮ, (КЯЬ ? ?ЭёЮЩ КЯЬ ? БЩД ДЮ ? ?Ю, ІЭ ?ІДЮ МЪ ?С •T)(#81360-) (T2120-002001A) in D65PX-16 S/N 80001-UP. Diagram image and parts list.

Model manual types and quick links