Komatsu PC170LC-11 S/N 37001-UP parts catalog PDF

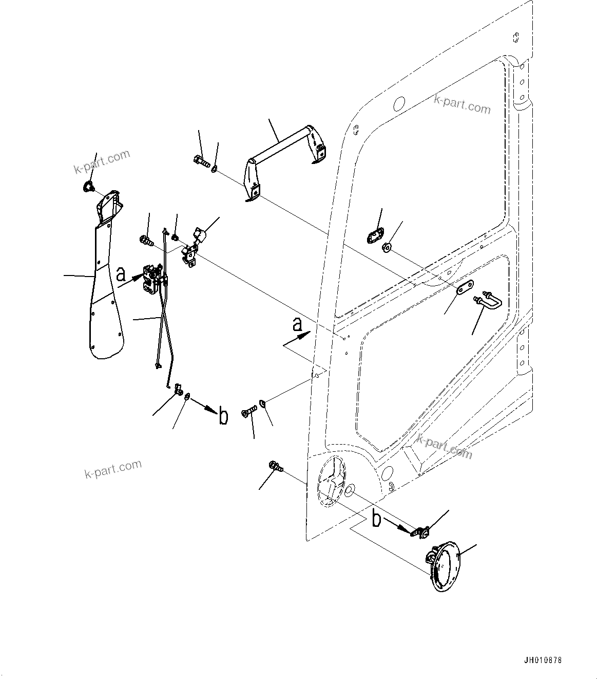
CAB, DOOR LOCK(#37001-) (K1111-006006) in PC170LC-11 S/N 37001-UP. Diagram image and parts list.

Model manual types and quick links