Find books across the catalog from one place.
This page is prepared as the search workspace. The search behavior itself can be connected in the next step.
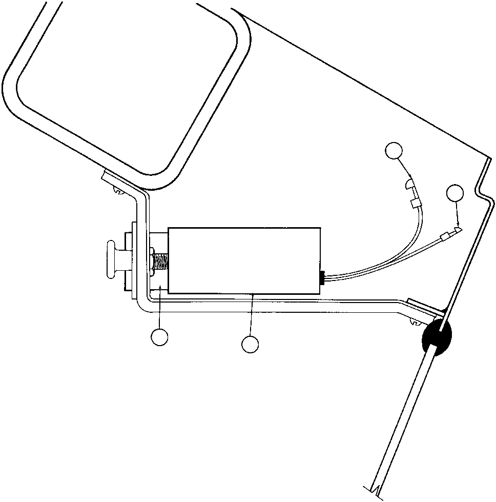
6212611203.AM/FM RADIO INSTL (TZ1453) (40057) in AFE32-Y 830E S/N 31588,31589,31631,31632. Diagram image and parts list.
Test text. Dear users! Access to the special equipment catalogs is paid. You can review the service usage rules and tariffs on the page!