|
|
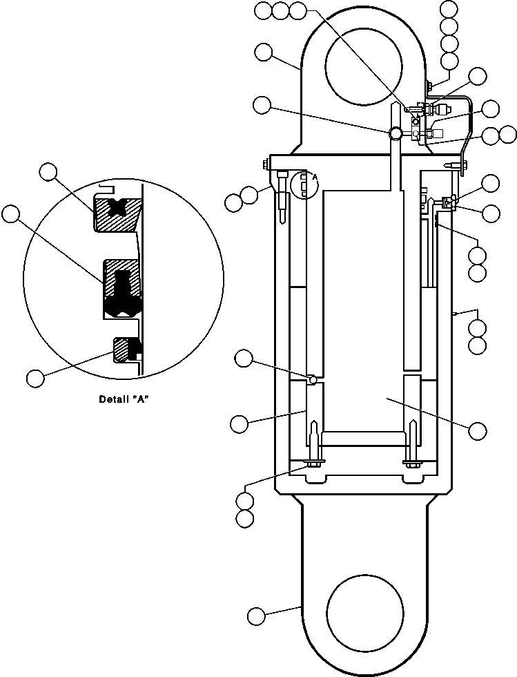
1 |
ED0191
|
PISTON |
1 |
|
|
|
|
2 |
WA0720
|
FLAT WASHER - 3/8" |
3 |
|
|
|
|
3 |
C0312
|
LOCKWASHER - 3/8" |
2 |
|
|
|
|
4 |
C1602
|
CAPSCREW - 3/8" - 16NC X 1" |
3 |
|
|
|
|
5 |
PB2194
|
CHARGING VALVE ASSEMBLY (1)/(2) |
1 |
|
|
|
|
5 |
TD7179
|
CORE, VALVE |
1 |
|
|
|
|
5 |
TR9993
|
CAP |
1 |
|
|
|
|
5 |
TF1144
|
O-RING |
1 |
|
|
|
|
5 |
WA0052
|
O-RING |
1 |
|
|
|
|
6 |
VD5076
|
GASKET |
1 |
|
|
|
|
7 |
TZ9083
|
PROTECTOR |
1 |
|
|
|
|
8 |
TY8879
|
PLUG, VENT |
2 |
|
|
|
|
9 |
VF4319
|
SCREW, BLEEDER |
1 |
|
|
|
|
10 |
WA0106
|
SEAL, O-RING (2) |
2 |
|
|
|
|
11 |
WA1281
|
RING, BACKUP (2) |
2 |
|
|
|
|
12 |
WA2892
|
PLATE, WARNING |
2 |
|
|
|
|
13 |
R1073
|
DRIVE SCREW - #6 X 3/16" |
8 |
|
|
|
|
14 |
VJ3911
|
OIL, SUSPENSION - (5 GALLON CAN) |
3 |
|
|
|
|
14 |
AK3761
|
ADDITIVE, OIL (5 GALLON CAN) |
1 |
|
|
|
|
15 |
EC1973
|
HOUSING (3) |
1 |
|
|
|
|
16 |
WA0362
|
FLAT WASHER - 3/4" (HARDENED) |
12 |
|
|
|
|
17 |
VM4571
|
CAPSCREW - 3/4" - 10NC X 2 1/2" |
12 |
|
|
|
|
18 |
ED0183
|
BEARING, BRONZE |
1 |
|
|
|
|
19 |
H2981
|
BALL, STEEL - 3/4" |
2 |
|
|
|
|
20 |
VN6801
|
CAPSCREW - 3/4" - 10NC X 3 1/2" (SOCKET HEAD) |
24 |
|
|
|
|
21 |
ED8014
|
BEARING - BRONZE |
1 |
|
|
|
|
22 |
EB8840
|
SENSOR, PRESSURE |
1 |
|
|
|
|
22 |
TZ9715
|
LOAD WEIGHING VALVE ASSEMBLY |
1 |
|
|
|
|
22 |
TD7179
|
CORE, VALVE |
1 |
|
|
|
|
22 |
TZ8627
|
VALVE, BODY |
1 |
|
|
|
|
22 |
TZ8628
|
ADAPTOR, PRESSURE SENSOR |
1 |
|
|
|
|
22 |
07000051009
|
O-RING |
1 |
|
|
|
|
23 |
PB7976
|
SEAL, ROD BUFFER - 12.00" (2) |
1 |
|
|
|
|
24 |
PB8564
|
SEAL, ROD - DOUBLE LIP - 12.00" (2) |
1 |
|
|
|
|
25 |
PB8867
|
SEAL, WIPER - 12.00" (2) |
1 |
|
|
|
|
26 |
VZ4269
|
GUARD, VALVE |
1 |
|
|
|
|
27 |
EC1015
|
2-SPEED VALVE ASSEMBLY |
1 |
|
|
|
|
NS|38 |
|
NOTE: NS = NOT SHOWN |
65535 |
|
|
|
|
NS|39 |
WA3417
|
DECAL, WARNING HYDRAIR (SPANISH) |
1 |
|
|
|
|
NS|40 |
RK1887
|
NOTE: (1) INCLD IN RK1887 CHARGING VALVE REPAIR KIT. |
65535 |
|
|
|
|
NS|41 |
AK7161
|
(2) INCLD IN AK7161 REAR SUSP SEAL KIT. |
65535 |
|
|
|
|
NS|42 |
|
(3) SVCD AS EC5318 HOUSING. |
65535 |
|
|
|
|
NS|43 |
|
(QUANTITIES SHOWN ARE FOR ONE SIDE ONLY.) |
65535 |
|
|