Search in all models by partnumber
Search current book

Komatsu AFE47-BZ 730E S/N A30246-A30256 HAMMERSLEY IRON parts catalog PDF

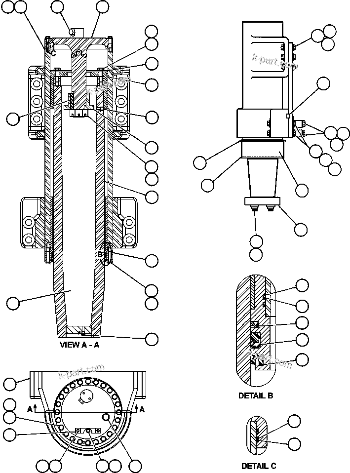
FRONT SUSPENSION & MOUNTING (55470) in AFE47-BZ 730E S/N A30246-A30256 HAMMERSLEY IRON. Diagram image and parts list.

Model manual types and quick links