|
|
1 |
VM0313
|
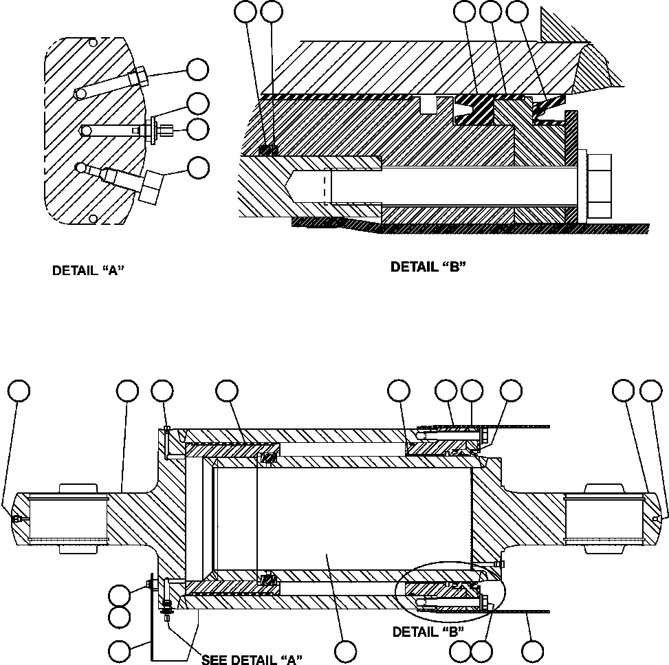
PLUG, O-RING BOSS - 1/4" O.D. (1) |
3 |
|
|
|
|
2 |
EJ8866
|
HOUSING |
1 |
|
|
|
|
3 |
VM2202
|
PLUG, VENT (1) |
1 |
|
|
|
|
4 |
562-50-32270
|
RING, WEAR (1) |
1 |
|
|
|
|
5 |
581-50-11180
|
BUSHING (1) |
1 |
|
|
|
|
6 |
562-50-36150
|
FLANGE |
1 |
|
|
|
|
7 |
562-50-36220
|
RETAINER |
1 |
|
|
|
|
8 |
562-50-36210
|
PLATE |
1 |
|
|
|
|
9 |
EJ8861
|
PISTON |
1 |
|
|
|
|
10 |
562-50-36191
|
SHIELD (NOT INCLUDED IN ASSEMBLY) |
1 |
|
|
|
|
10 |
PC1006
|
CLAMP (NOT INCLUDED IN ASSEMBLY) |
2 |
|
|
|
|
11 |
01011-81825
|
CAPSCREW |
18 |
|
|
|
|
12 |
01643-31845
|
WASHER |
18 |
|
|
|
|
13 |
VJ3911
|
OIL, SUSPENSION (5 GALLON CAN) |
2 |
|
|
|
|
13 |
VJ5925
|
OIL, SUSPENSION - COLD WEATHER (5 GALLON CAN) (3) |
2 |
|
|
|
|
13 |
AK3761
|
ADDITIVE, OIL (5 GALLON CAN) |
1 |
|
|
|
|
14 |
EJ6733
|
COVER (1) |
1 |
|
|
|
|
15 |
C1603
|
CAPSCREW - 3/8" - 16NC X 1 1/4" (1) |
2 |
|
|
|
|
16 |
WA0720
|
FLAT WASHER - 3/8" (1) |
2 |
|
|
|
|
17 |
VM0314
|
PLUG, O-RING BOSS - 3/8" O.D. (1) |
1 |
|
|
|
|
18 |
PB2194
|
CHARGING VALVE ASSEMBLY (1)/(2) |
1 |
|
|
|
|
18 |
TD7179
|
CORE, VALVE |
1 |
|
|
|
|
18 |
TR9993
|
CAP, VALVE |
1 |
|
|
|
|
18 |
TF1144
|
O-RING - HOUSING |
1 |
|
|
|
|
18 |
WA0052
|
O-RING - VALVE STEM |
1 |
|
|
|
|
19 |
VD5076
|
GASKET (1)/(2) |
1 |
|
|
|
|
20 |
TZ8637
|
PLUG, SENSOR |
1 |
|
|
|
|
21 |
581-50-21910
|
O-RING (1) |
1 |
|
|
|
|
22 |
07001-05330
|
RING, BACKUP (1) |
1 |
|
|
|
|
23 |
581-50-11290
|
PACKING (1) |
1 |
|
|
|
|
24 |
581-50-11280
|
BUSHING (1) |
1 |
|
|
|
|
25 |
581-50-21252
|
SEAL (1) |
1 |
|
|
|
|
NS|33 |
|
NOTE: NS = NOT SHOWN |
-1 |
|
|
|
|
NS|34 |
WA2892
|
PLATE, DANGER |
1 |
|
|
|
|
NS|35 |
R1073
|
DRIVE SCREW - #6 - 32NC X 3/16" |
8 |
|
|
|
|
NS|36 |
AK4941
|
NOTE: (1) INCLUDED IN AK4941 REAR SUSPENSION |
-1 |
|
|
|
|
NS|37 |
|
OVERHAUL KIT. |
-1 |
|
|
|
|
NS|38 |
RK1887
|
(2) INCLUDED IN RK1887 CHARGING VALVE KIT. |
-1 |
|
|
|
|
NS|39 |
|
(3) EJ8859 DOES NOT INCLUDE COLD WEATHER SUSPENSION |
-1 |
|
|
|
|
NS|40 |
|
OIL. VJ5925 MUST BE ORDERED SEPARATELY. |
-1 |
|
|