|
|
? |
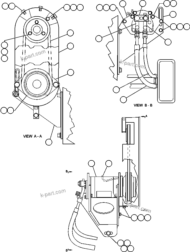
PB9069
|
COMPRESSOR |
1 |
|
|
|
|
? |
EF6622
|
PLATE, MOUNTING - REAR |
2 |
|
|
|
|
? |
EF6623
|
PLATE, MOUNTING - FRONT |
2 |
|
|
|
|
? |
EF6625
|
BRACKET, COMPRESSOR |
1 |
|
|
|
|
? |
MM0462
|
FLAT WASHER - M12 |
3 |
|
|
|
|
? |
MM0472
|
LOCKWASHER - M12 |
3 |
|
|
|
|
? |
MM0619
|
CAPSCREW - M12 X 1.75 X 35 |
3 |
|
|
|
|
? |
WA0720
|
FLAT WASHER - 3/8" (HARDENED) |
10 |
|
|
|
|
? |
C1605
|
CAPSCREW - 3/8" - 16NC X 1 3/4" |
2 |
|
|
|
|
? |
C1603
|
CAPSCREW - 3/8" - 16NC X 1 1/4" |
4 |
|
|
|
|
? |
C1521
|
NUT - 3/8" |
6 |
|
|
|
|
? |
C1604
|
CAPSCREW - 3/8" - 16NC X 1 1/2" |
4 |
|
|
|
|
? |
ED8107
|
LINK, ADJUSTOR |
2 |
|
|
|
|
? |
PB8730
|
HOLD DOWN - FITTING |
1 |
|
|
|
|
? |
PB9152
|
FITTING ASSM., - A/C COMPRESSOR |
1 |
|
|
|
|
? |
PB9942
|
FITTING ASSM., - A/C COMPRESSOR |
1 |
|
|
|
|
? |
HA7326
|
HOSE |
1 |
|
|
|
|
? |
HA7472
|
HOSE |
1 |
|
|
|
|
? |
EF6624
|
PLATE, BENT |
1 |
|
|
|
|
? |
MM0712
|
FLAT WASHER - M8 (HARDENED ZINC PLATE) |
5 |
|
|
|
|
? |
MM0593
|
CAPSCREW - M8 X 1.25 X 20 |
5 |
|
|
|
|
? |
ED7073
|
PULLEY |
1 |
|
|
|
|
? |
MM0713
|
FLAT WASHER - M10 (HARDENED ZINC PLATE) |
3 |
|
|
|
|
? |
MM0607
|
CAPSCREW - M10 X 1.50 X 35 |
3 |
|
|
|
|
? |
PB9648
|
V-BELT |
1 |
|
|
|
|
? |
WA0723
|
FLAT WASHER - 5/16" |
4 |
|
|
|
|
? |
C7568
|
CAPSCREW, SPECIAL |
4 |
|
|
|
|
? |
EF6633
|
GUARD, BELT |
1 |
|
|
|
|
? |
EF6632
|
PLATE, BENT |
1 |
|
|
|
|
? |
MM0714
|
FLAT WASHER - M12 (HARDENED ZINC PLATE) |
2 |
|
|
|
|
? |
MM0618
|
CAPSCREW - M12 X 1.75 X 30 |
2 |
|
|
|
|
? |
EG0655
|
HARNESS - JUMPER ON COMPRESSOR |
1 |
|
|