|
|
0 |
EJ9945
|
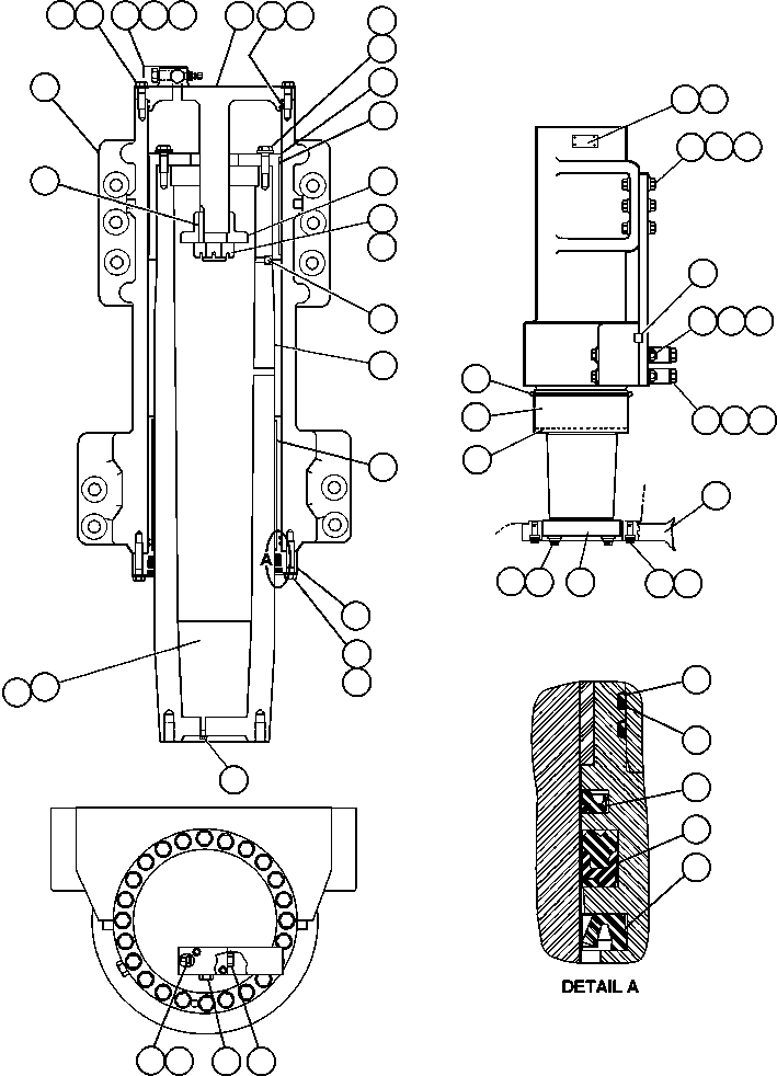
FRONT SUSPENSION ASSEMBLY |
1 |
|
|
|
|
1 |
ED0195
|
HOUSING |
1 |
|
|
|
|
2 |
EH6541
|
CAP, SUSPENSION |
1 |
|
|
|
|
3 |
WA0363
|
FLAT WASHER - 7/8" (HARDENED) |
60 |
|
|
|
|
4 |
VN9105
|
CAPSCREW - 7/8" - 9NC X 3" |
36 |
|
|
|
|
5 |
WA1282
|
RING, BACKUP (1) |
4 |
|
|
|
|
6 |
WA5668
|
SEAL, O-RING (1) |
4 |
|
|
|
|
7 |
EL6233
|
RETAINER, UPPER BEARING |
1 |
|
|
|
|
8 |
PC0912
|
BEARING, UPPER |
1 |
|
|
|
|
9 |
EH6529
|
STOP, PISTON |
1 |
|
|
|
|
10 |
VW4451
|
NUT |
1 |
|
|
|
|
11 |
VC2629
|
LOCKPIN |
1 |
|
|
|
|
12 |
H2981
|
BALL, STEEL |
2 |
|
|
|
|
13 |
EJ8875
|
ROD, PISTON |
1 |
|
|
|
|
14 |
EJ2182
|
RETAINER, LOWER BEARING |
1 |
|
|
|
|
15 |
PC0998
|
BEARING, LOWER |
1 |
|
|
|
|
16 |
VN9141
|
CAPSCREW - 7/8" - 9NC X 4" |
24 |
|
|
|
|
17 |
VM0314
|
PLUG, O-RING |
1 |
|
|
|
|
18 |
VJ3911
|
OIL, SUSPENSION (5 GAL CONTAINER) |
6 |
|
|
|
|
19 |
AK3761
|
ADDITIVE, OIL (5 GAL CONTAINER) |
1 |
|
|
|
|
20 |
PB2194
|
CHARGING VALVE ASSEMBLY (1)/(2) |
1 |
|
|
|
|
20 |
TR9993
|
CAP, VALVE |
1 |
|
|
|
|
20 |
TD7179
|
CORE, VALVE |
1 |
|
|
|
|
20 |
TF1144
|
O-RING, HOUSING |
1 |
|
|
|
|
20 |
WA0052
|
O-RING, VALVE STEM |
1 |
|
|
|
|
21 |
VD5076
|
GASKET, FLAT (1)/(2) |
1 |
|
|
|
|
22 |
TY8879
|
PLUG, VENT |
1 |
|
|
|
|
23 |
TZ8637
|
PLUG, SENSOR |
1 |
|
|
|
|
24 |
PC0470
|
SEAL, BUFFER (1) |
1 |
|
|
|
|
25 |
PC0469
|
SEAL, DOUBLE LIP (1) |
1 |
|
|
|
|
26 |
PC0471
|
SEAL, WIPER (1) |
1 |
|
|
|
|
27 |
WA2892
|
PLATE, DANGER |
2 |
|
|
|
|
28 |
WA3134
|
DRIVE SCREW - #6 X .187 |
8 |
|
|
|
|
29 |
EH6536
|
KEY |
1 |
|
|
|
|
30 |
EF5480
|
COVER, PROTECTOR |
1 |
|
|
|
|
31 |
C1602
|
CAPSCREW - 3/8" - 16NC X 1" |
2 |
|
|
|
|
32 |
DF3042
|
FLAT WASHER - 3/8" |
2 |
|
|
|
|
33 |
WA0368
|
FLAT WASHER - 1 1/2" (HARDENED) |
12 |
|
|
|
|
34 |
VN9182
|
CAPSCREW - 1 1/2" - 6NC X 6" |
6 |
|
|
|
|
35 |
WA0404
|
NUT - 1 1/2" - 6NC |
6 |
|
|
|
|
36 |
WA0370
|
FLAT WASHER - 1 3/4" (HARDENED) |
12 |
|
|
|
|
37 |
WB0925
|
CAPSCREW - 1 3/4" - 5NC X 14" |
8 |
|
|
|
|
38 |
WA0405
|
NUT - 1 3/4" - 5NC |
4 |
|
|
|
|
39 |
ED7915
|
SPACER |
4 |
|
|
|
|
40 |
ED7912
|
PLATE, RETAINING |
1 |
|
|
|
|
41 |
WA4817
|
CAPSCREW - 1 1/4" - 12NF X 5" |
39 |
|
|
|
|
42 |
TY2149
|
FLAT WASHER - 1 1/4" |
39 |
|
|
|
|
43 |
EL4256
|
ARM, STEERING - L.H. |
1 |
|
|
|
|
43 |
EL4255
|
ARM, STEERING - R.H. |
1 |
|
|
|
|
44 |
TF4079
|
CLAMP |
2 |
|
|
|
|
45 |
EF3373
|
BOOT |
1 |
|
|
|
|
46 |
EF3374
|
WIRE, BOOT |
1 |
|
|
|
|
47 |
ED7916
|
KEY, SHEAR |
1 |
|
|
|
|
NS|54 |
|
NOTE: NS = NOT SHOWN |
-1 |
|
|
|
|
NS|55 |
WA3925
|
DECAL, HYDRAIR II |
1 |
|
|
|
|
NS|56 |
AK4308
|
NOTE: (1) INCLUDED IN AK4308 SEAL KIT. |
-1 |
|
|
|
|
NS|57 |
RK1887
|
(2) INCLUDED IN RK1887 CHARGING VALVE KIT. |
-1 |
|
|
|
|
NS|58 |
|
(QUANTITIES SHOWN ARE FOR ONE SIDE ONLY.) |
-1 |
|
|