|
|
1 |
PB7202
|
INSULATOR |
1 |
|
|
|
|
2 |
EM8612
|
ROD, THREADED - 5/16" |
1 |
|
|
|
|
3 |
SC4174
|
LOCKWASHER - 5/16" |
2 |
|
|
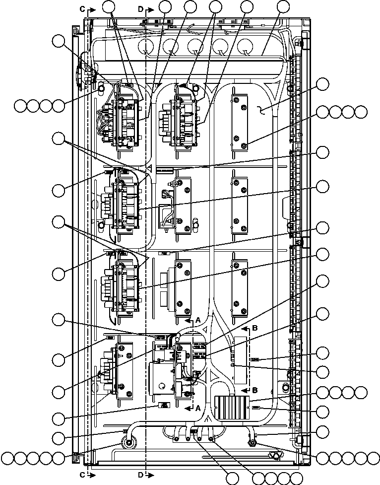
|
|
4 |
TD1684
|
NUT - 5/16" - 18NC |
1 |
|
|
|
|
5 |
TV0177
|
FLAT WASHER - 5/16" |
2 |
|
|
|
|
6 |
EK0731
|
ROD, THREADED - M6 |
4 |
|
|
|
|
7 |
MM0176
|
NUT - M6 X 1.00 |
6 |
|
|
|
|
8 |
MM0469
|
LOCKWASHER - M6 |
4 |
|
|
|
|
9 |
MM0459
|
FLAT WASHER - M6 |
6 |
|
|
|
|
10 |
TA7409
|
INSULATOR, STAND-OFF |
1 |
|
|
|
|
11 |
ED0913
|
ROD, THREADED - 1/4" |
1 |
|
|
|
|
12 |
TD1549
|
NUT - 1/4" - 20NC |
1 |
|
|
|
|
13 |
DC3584
|
LOCKWASHER - 1/4" |
2 |
|
|
|
|
14 |
TR1307
|
FLAT WASHER - 1/4" |
2 |
|
|
|
|
15 |
PC1615
|
CONVERTER |
1 |
|
|
|
|
16 |
MM0373
|
NUT - M5 X 0.8 |
2 |
|
|
|
|
17 |
MM0379
|
LOCKWASHER - M5 (EXTERNAL TOOTH) |
2 |
|
|
|
|
18 |
EL0312
|
MOUNTING BRACKET ASSEMBLY |
1 |
|
|
|
|
19 |
EL0311
|
MOUNT, BRACKET |
1 |
|
|
|
|
20 |
EK9239
|
BRACKET |
11 |
|
|
|
|
21 |
MM0470
|
LOCKWASHER - M8 |
44 |
|
|
|
|
22 |
MM0177
|
NUT - M8 X 1.25 |
44 |
|
|
|
|
23 |
MM0460
|
FLAT WASHER - M8 |
44 |
|
|
|
|
24 |
TC1234
|
CAPSCREW - 3/8" - 16NC X 3/4" |
9 |
|
|
|
|
25 |
TC1231
|
LOCKWASHER - 3/8" |
9 |
|
|
|
|
26 |
TR4436
|
FLAT WASHER - 3/8" |
9 |
|
|
|
|
27 |
EK3808
|
RELAY BOARD ASSEMBLY - RB1 (SEE FIG 55612) |
1 |
|
55612 |
|
|
28 |
EK3803
|
RELAY BOARD ASSEMBLY - RB3 (SEE FIG 55612) |
1 |
|
55612 |
|
|
29 |
EK3806
|
RELAY BOARD ASSEMBLY - RB4 (SEE FIG 55612) |
1 |
|
55612 |
|
|
30 |
EK3811
|
RELAY BOARD ASSEMBLY - RB5 (SEE FIG 55612) |
1 |
|
55612 |
|
|
31 |
TZ7377
|
NAME PLATE - 24 VDC |
1 |
|
|
|
|
32 |
WB2281
|
NAME PLATE - LUBE TIMER |
1 |
|
|
|
|
33 |
WB2303
|
NAME PLATE - GB31 |
1 |
|
|
|
|
34 |
TZ7378
|
NAME PLATE - 12 VDC |
1 |
|
|
|
|
35 |
WB3239
|
NAME PLATE - 12 VCN |
1 |
|
|
|
|
36 |
WB3238
|
NAME PLATE - DOKG |
1 |
|
|
|
|
37 |
WB3237
|
NAME PLATE - RB9 |
1 |
|
|
|
|
38 |
WB2836
|
NAME PLATE - 12V POWER RELAY |
1 |
|
|
|
|
39 |
WB2289
|
NAME PLATE - CONTROL POWER RELAY |
1 |
|
|
|
|
40 |
EK3939
|
HARNESS, AUXILIARY BOX (P301 - P305) |
1 |
|
|
|
|
41 |
WB2835
|
NAME PLATE - KEY SWITCH POWER RELAY |
1 |
|
|
|
|
42 |
WB3298
|
NAME PLATE - GROUND LEVEL POWER RELAY |
1 |
|
|
|
|
43 |
WB2280
|
NAME PLATE - RB7 |
1 |
|
|
|
|
44 |
EC8824
|
NAME PLATE - RB6 |
1 |
|
|
|
|
45 |
EL7628
|
NAME PLATE - INCLINOMETER |
1 |
|
|
|
|
46 |
EC8825
|
NAME PLATE - DB1 |
1 |
|
|
|
|
47 |
WB2733
|
NAME PLATE - RB8 |
1 |
|
|
|
|
48 |
EC8819
|
NAME PLATE - RB1 |
2 |
|
|
|
|
49 |
EC8821
|
NAME PLATE - RB3 |
2 |
|
|
|
|
50 |
EC8822
|
NAME PLATE - RB4 |
2 |
|
|
|
|
51 |
EC8823
|
NAME PLATE - RB5 |
2 |
|
|
|
|
52 |
EH3010
|
NAME PLATE - PVM |
1 |
|
|
|
|
52 |
|
(FOR VIEWS A-A THROUGH D-D, SEE THE FOLLOWING PAGE.) |
-1 |
|
|