|
|
? |
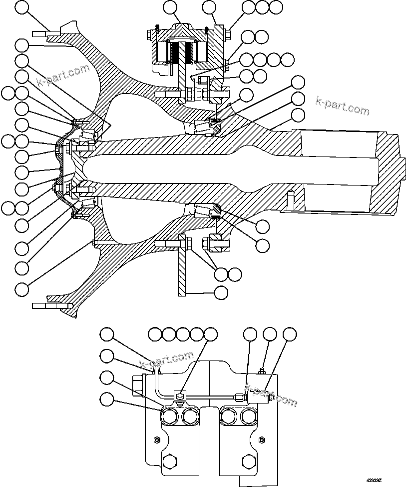
EL0452
|
HOUSING, FRONT WHEEL |
1 |
|
|
|
|
? |
PC2020
|
DISC BRAKE ASSEMBLY (SEE INDEX) |
3 |
|
42761 |
|
|
? |
EM3837
|
SUPPORT, BRAKE |
1 |
|
|
|
|
? |
WA4682
|
CAPSCREW - 1" - 14NF X 14 1/2" |
18 |
|
|
|
|
? |
WA0364
|
FLAT WASHER - 1" |
30 |
|
|
|
|
? |
VN7703
|
NUT - 1" - 14NF |
18 |
|
|
|
|
? |
VM8258
|
CAPSCREW - 1" - 8NC X 3 3/4" |
18 |
|
|
|
|
? |
PC0003
|
CUP, BEARING (1) |
1 |
|
|
|
|
? |
PC1696
|
CONE, BEARING (1) |
1 |
|
|
|
|
? |
EL9508
|
SPINDLE |
1 |
|
|
|
|
? |
562-22-32290
|
PIN (1) |
2 |
|
|
|
|
? |
EB1715
|
SPACER |
1 |
|
|
|
|
? |
PC2487
|
SEAL ASSEMBLY (1) |
1 |
|
|
|
|
? |
VN9143
|
CAPSCREW - 1 1/4" - 7NC X 4" |
56 |
|
|
|
|
? |
TY2149
|
FLAT WASHER - 1 1/4" |
62 |
|
|
|
|
? |
TX4848
|
DISC |
1 |
|
|
|
|
? |
EM5452
|
STUD - 1" - 14UNS X 7 1/4" |
35 |
|
|
|
|
? |
VM0315
|
PLUG, O-RING |
1 |
|
|
|
|
? |
PC0006
|
CUP, BEARING (1) |
1 |
|
|
|
|
? |
PC1697
|
CONE, BEARING (1) |
1 |
|
|
|
|
? |
SD5211
|
PIPE, BUSHING |
1 |
|
|
|
|
? |
PB7454
|
GAUGE, SIGHT |
1 |
|
|
|
|
? |
EL9506
|
RETAINER, BEARING |
1 |
|
|
|
|
? |
TH6916
|
VALVE, CHECK |
1 |
|
|
|
|
? |
R2491
|
PLUG, DRAIN (MAGNETIC) |
1 |
|
|
|
|
? |
TY2148
|
FLAT WASHER - 1" |
6 |
|
|
|
|
? |
EL9513
|
SHIM - .005" (1) |
3 |
|
|
|
|
? |
EL9514
|
SHIM - .007" (1) |
4 |
|
|
|
|
? |
EL9515
|
SHIM - .020" (1) |
5 |
|
|
|
|
? |
WA4795
|
SEAL, O-RING (1) |
1 |
|
|
|
|
? |
C1616
|
CAPSCREW - 1/2" - 13NC X 2" |
8 |
|
|
|
|
? |
C1540
|
LOCKWASHER - 1/2" |
8 |
|
|
|
|
? |
EC3702
|
COVER |
1 |
|
|
|
|
? |
WA0362
|
FLAT WASHER - 3/4" (2) |
4 |
|
|
|
|
? |
TX0807
|
ANGLE (2) |
1 |
|
|
|
|
? |
TH7593
|
FITTING, ELBOW - 90 DEG (2) |
1 |
|
|
|
|
? |
TX0805
|
TUBE (2) |
1 |
|
|
|
|
? |
VY8331
|
CLAMP |
1 |
|
|
|
|
? |
DC7524
|
CAPSCREW - 3/8" - 16NC X 7/8" |
1 |
|
|
|
|
? |
WA0720
|
FLAT WASHER - 3/8" |
1 |
|
|
|
|
? |
C0312
|
LOCKWASHER - 3/8" |
1 |
|
|
|
|
? |
C1521
|
NUT - 3/8" - 16NC |
1 |
|
|
|
|
? |
TF5190
|
FITTING, TUBE CONNECTOR (2) |
1 |
|
|
|
|
? |
TR6102
|
SCREW, BLEEDER |
2 |
|
|
|
|
? |
TX0808
|
BOSS, BLEEDER REMOTE (2) |
1 |
|
|
|
|
? |
EM6445
|
BRACKET |
1 |
|
|
|
|
? |
VN3275
|
CAPSCREW - 1 1/4" - 7NC X 5 1/2" |
8 |
|
|
|
|
? |
EL0628
|
SPACER |
8 |
|
|
|
|
? |
EL0627
|
GEAR |
1 |
|
|
|
|
? |
SL5023
|
O-RING (1) |
1 |
|
|
|
|
? |
AK5511
|
NOTE: (1) INCLUDED IN AK5511 BEARING AND SEAL KIT. |
-1 |
|
|
|
|
? |
|
(2) USED ON TOP BRAKE HEAD ONLY. |
-1 |
|
|
|
|
? |
|
(QUANTITIES SHOWN ARE FOR ONE SIDE ONLY.) |
-1 |
|
|