|
|
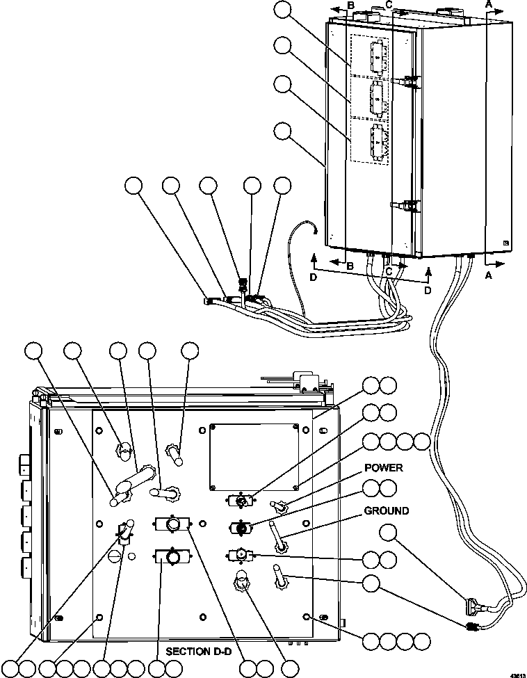
1 |
58E-06-00460
|
HARNESS, CAB/AUX CABINET DIAGNOSTICS |
1 |
|
|
|
|
1 |
58B-06-00130
|
RESISTOR (1K OHM, 2W) |
1 |
|
|
|
|
2 |
58E-06-00470
|
HARNESS, AUX CABINET/CAB - DASH |
1 |
|
|
|
|
3 |
58E-06-00450
|
HARNESS, AUX CABINET - HYDRAULIC |
1 |
|
|
|
|
4 |
58E-06-00440
|
HARNESS, CAB/AUX CABINET DIAGNOSTIC - GE |
1 |
|
|
|
|
5 |
58E-06-00480
|
HARNESS, AUX CABINET/CAB OVERHEAD |
1 |
|
|
|
|
6 |
58E-06-10660
|
CABINET |
1 |
|
|
|
|
7 |
58E-65-00100
|
LABEL, VEC-91 (INSIDE CABINET DOOR) |
1 |
|
|
|
|
8 |
58E-65-00090
|
LABEL, VEC-90 (INSIDE CABINET DOOR) |
1 |
|
|
|
|
9 |
58E-65-00080
|
LABEL, VEC-89 (INSIDE CABINET DOOR) |
1 |
|
|
|
|
10 |
XC2719
|
PLATE |
1 |
|
|
|
|
11 |
MM0019
|
CAPSCREW - M6 X 1.00 X 16 |
4 |
|
|
|
|
12 |
MM0459
|
FLAT WASHER - M6 |
4 |
|
|
|
|
13 |
MM0469
|
LOCKWASHER - M6 |
4 |
|
|
|
|
14 |
XC2510
|
PLATE |
1 |
|
|
|
|
15 |
58E-06-10640
|
GASKET |
1 |
|
|
|
|
16 |
58E-06-00130
|
HARNESS, LEFT REAR FRAME RAIL |
1 |
|
|
|
|
16 |
PC2834
|
DIODE - 4 AMP |
1 |
|
|
|
|
17 |
58E-06-00630
|
HARNESS, GE |
1 |
|
|
|
|
18 |
PC2943
|
GASKET |
2 |
|
|
|
|
19 |
58E-06-00140
|
HARNESS, RIGHT REAR FRAME |
1 |
|
|
|
|
20 |
58E-06-00580
|
HARNESS, AUXILIARY CABINET - ENGINE |
1 |
|
|
|
|
21 |
TC1233
|
NUT - 3/8" - 16NC |
6 |
|
|
|
|
22 |
TD0798
|
CAPSCREW - 3/8" - 16NC X 1 3/4" |
6 |
|
|
|
|
23 |
58E-06-00490
|
HARNESS, ENGINE |
1 |
|
|
|
|
23 |
58B-06-00130
|
RESISTOR (1K OHM, 2W) |
1 |
|
|
|
|
24 |
58E-06-00650
|
HARNESS, LEFT FRONT FRAME RAIL |
1 |
|
|
|
|
25 |
PC3407
|
GASKET |
2 |
|
|
|
|
26 |
58E-06-00640
|
HARNESS, RIGHT FRONT FRAME RAIL |
1 |
|
|
|
|
27 |
MM0344
|
SCREW - M4 X 0.7 |
24 |
|
|
|
|
28 |
MM0372
|
NUT - M4 X 0.7 |
24 |
|
|
|
|
29 |
MM0378
|
LOCKWASHER - M4 |
24 |
|
|
|
|
30 |
TC1231
|
LOCKWASHER - 3/8" |
9 |
|
|
|
|
31 |
TG5720
|
CAPSCREW - 3/8" - 16NC X 1" |
3 |
|
|
|
|
32 |
TR4436
|
FLAT WASHER - 3/8" |
9 |
|
|
|
|
33 |
58E-06-00910
|
HARNESS, FRONT WHEEL SPEED SENSOR |
1 |
|
|
|
|
34 |
PC2942
|
GASKET |
2 |
|
|