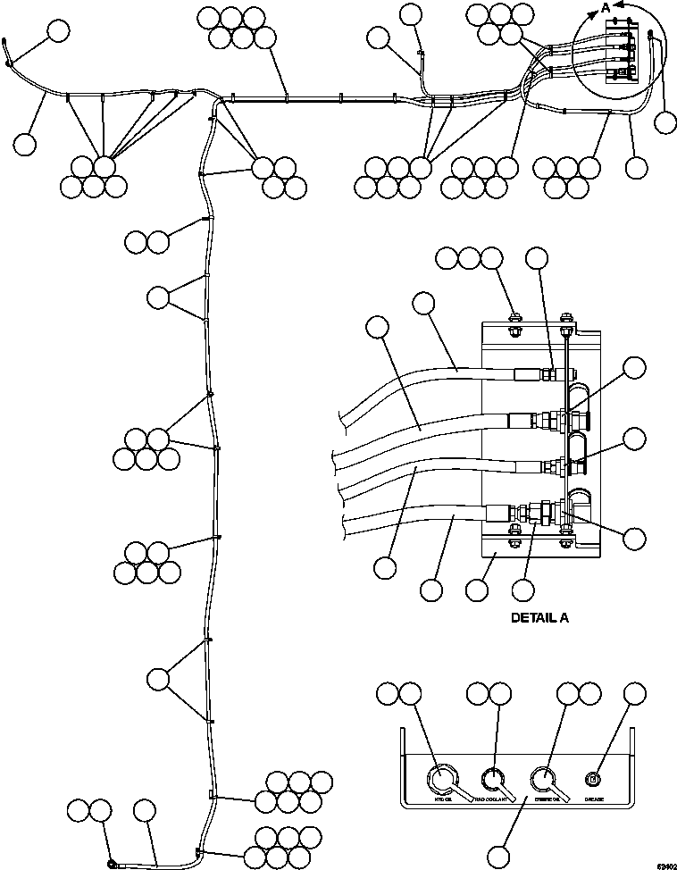
1
EJ6559
MOUNT
1
2
WB0466
FITTING, STRAIGHT
1
3
C5771
PLUG, PIPE - 1/2"
1
4
PB9212
RECEIVER ASSEMBLY (ENGINE OIL)
1
5
WB0947
LOCKNUT, BULKHEAD - 1 5/8" - 12NC
1
6
PB9211
RECEIVER ASSEMBLY (COOLANT)
1
7
WB0945
LOCKNUT, BULKHEAD - 1 3/16" - 12NC
1
8
PB9213
RECEIVER ASSEMBLY (HYDRAULIC OIL)
1
9
WB0948
LOCKNUT, BULKHEAD - 1 7/8" - 12NC
1
10
EK7400
DECAL, SERVICE CENTER
1
11
WB0594
FITTING, STRAIGHT
1
12
WB0585
FITTING, STRAIGHT
1
13
WB0600
FITTING, STRAIGHT
1
14
WB0364
FITTING, ADAPTER
1
15
MM0620
CAPSCREW - M12 X 1.75 X 40
4
16
MM0714
FLAT WASHER - M12 (HARDENED)
8
17
MM0179
NUT - M12 X 1.75
4
18
HA8425
HOSE (TO HYDRAULIC TANK)
1
19
HA8427
HOSE (TO RADIATOR)
1
20
HA5740
HOSE (TO ENGINE OIL RESERVE TANK)
1
21
HA8426
HOSE (TO AUTO LUBE PUMP)
1
22
SG3146
GROMMET
1
23
MM0605
CAPSCREW - M10 X 1.50 X 25
3
24
WB0265
FITTING, ELBOW - 90 DEG
1
25
WB0268
FITTING, ELBOW - 90 DEG
1
26
TC8757
BUSHING, PIPE - 2" X 1"
1
27
WA2919
FITTING, ELBOW - 90 DEG
1
28
WB3096
CLAMP, CUSHIONED - 1 1/4"
21
29
MM0461
FLAT WASHER - M10
29
30
MM0178
NUT - M10 X 1.50
26
31
WB3092
CLAMP, CUSHIONED - 7/8"
18
32
EK9883
SPACER
15
33
WB1306
CLAMP, CUSHIONED - 2"
1
34
WA1780
CLAMP, VINYL - 2 7/8" ID
1
35
EM7532
SPACER
1
36
TY8375
SPACER
3
37
WB3857
CLAMP, CUSHIONED - 1 3/16"
5
38
MM0471
LOCKWASHER - M10
26