Search in all models by partnumber
Search current book

Komatsu AFE47-DH 730E S/N A30375 ALCOA parts catalog PDF

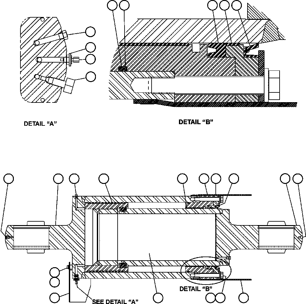
REAR SUSPENSION ASSEMBLY (EJ8859) (55579) in AFE47-DH 730E S/N A30375 ALCOA. Diagram image and parts list.

Model manual types and quick links