|
|
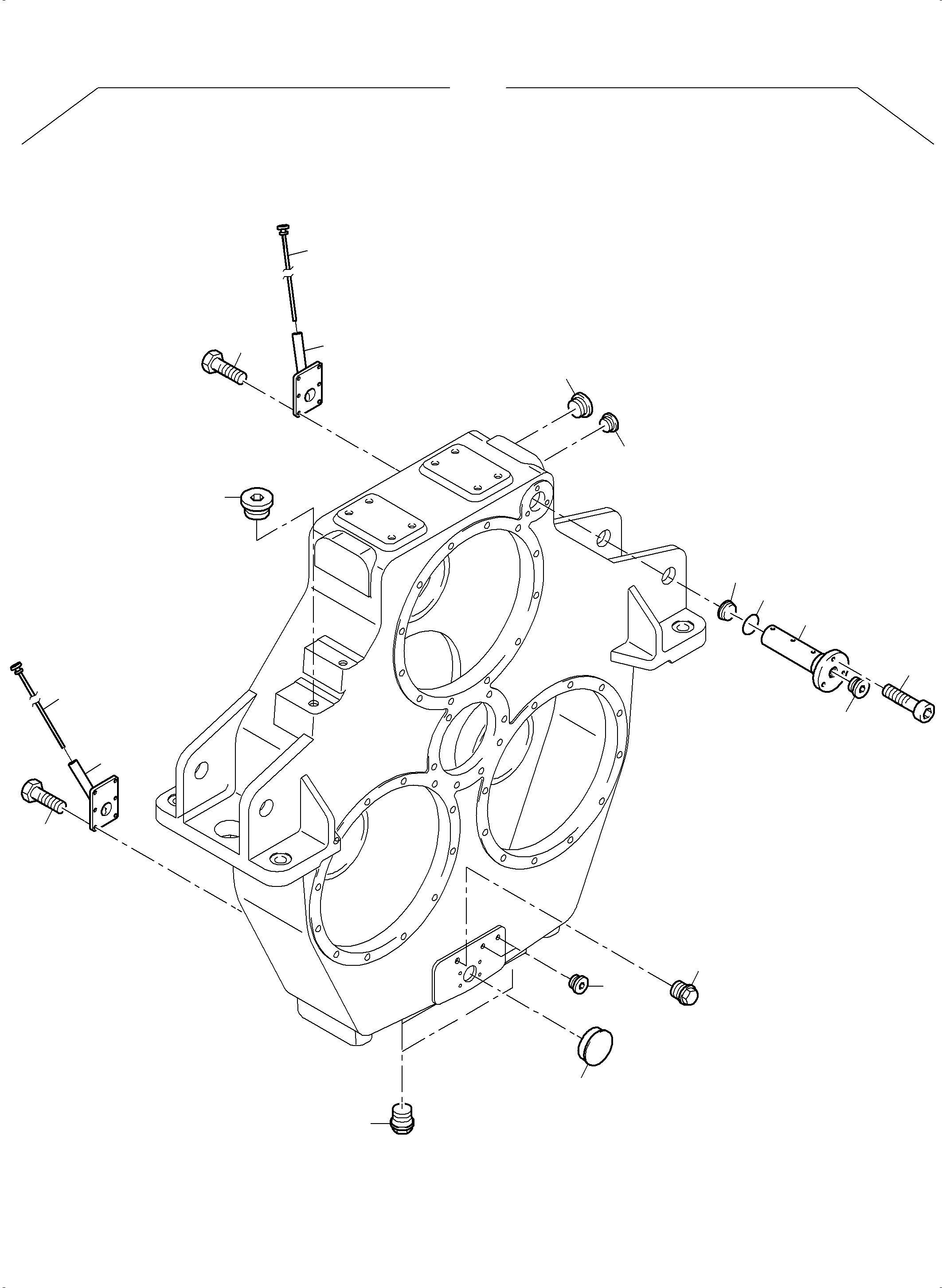
01 |
898 152 40
|
Pump distributor gear |
1 |
InternBDB: Stiebel 4523.02.09901 1468 U/MIN
|
|
|
|
10 |
797 268 73
|
Housing |
1 |
InternBDB: 60415 4523 0 02-01 / 1730x1660 | InternKon: 4523.02.09901 / 10
|
|
|
|
20 |
796 319 73
|
Bearing carrier |
1 |
InternBDB: 60051 4523 1 01 / 525 / 200x117 | InternKon: 4523.02.09901 / 20
|
|
|
|
30 |
796 320 73
|
Mounting flange |
3 |
InternBDB: 60052 4523 1 02 / D585x137 | InternKon: 4523.02.09901 / 30
|
|
|
|
40 |
796 321 73
|
Mounting flange |
1 |
InternBDB: 60053 4523 1 03 / 438x288x106 | InternKon: 4523.02.09901 / 40
|
|
|
|
50 |
796 322 73
|
Cover |
1 |
InternBDB: 31073 4343 1 12-01 / 249x100x82 | InternKon: 4523.02.09901 / 50
|
|
|
|
60 |
796 323 73
|
Cover |
1 |
InternBDB: 31074 4343 1 13-01 / 249x100x82 | InternKon: 4523.02.09901 / 60
|
|
|
|
70 |
797 269 73
|
Cylindrical gear |
1 |
InternBDB: 60420 4523 3 03 / D429/135x92 | InternKon: 4523.02.09901 / 70
|
|
|
|
80 |
797 270 73
|
Cylindrical gear |
3 |
InternBDB: 60419 4523 3 04 / D459/125x70 | InternKon: 4523.02.09901 / 80
|
|
|
|
90 |
796 460 73
|
Flange shaft |
1 |
InternBDB: 61734 4523 4 03 / D360x391 | InternKon: 4523.02.09901 / 90
|
|
|
|
100 |
796 327 73
|
Thoothed shaft |
3 |
InternBDB: 60057 4523 4 02 / D132x239 | InternKon: 4523.02.09901 / 100
|
|
|
|
110 |
796 328 73
|
Spacer |
36 |
InternBDB: 39612 4393 6 01 / D32/16,5x24 | InternKon: 4523.02.09901 / 110
|
|
|
|
120 |
796 329 73
|
Slotter round nut |
1 |
InternBDB: 60058 4523 6 01 / D175x28 | InternKon: 4523.02.09901 / 120
|
|
|
|
130 |
796 330 73
|
Sleeve |
1 |
InternBDB: 60059 4523 6 02 / D170/145x40 | InternKon: 4523.02.09901 / 130
|
|
|
|
140 |
796 334 73
|
Sleeve |
1 |
InternBDB: 08125 4343 6 04 / D100/90x36 | InternKon: 4523.02.09901 / 140
|
|
|
|
150 |
796 335 73
|
Tube |
1 |
InternBDB: 60060 4523 7 01 / D120x254 | InternKon: 4523.02.09901 / 150
|
|
|
|
160 |
796 336 73
|
Shaft adapter |
1 |
InternBDB: 06992 4281 7 06-01 / D55/28x56 | InternKon: 4523.02.09901 / 160
|
|
|
|
170 |
214 768 99
|
Tube |
-2 |
InternBDB: Ш 10x1,5 / DIN 2391 | InternKon: 4523.02.09901 / 170
|
|
|
|
180 |
796 338 73
|
Oil dipstick |
2 |
InternBDB: 31076 4343 9 02 / D35x255 1621-08-00 | InternKon: 4523.02.09901 / 180
|
|
|
|
190 |
501 954 98
|
Ball bearing |
3 |
InternBDB: DIN625 6224 120x215x40 | InternKon: 4523.02.09901 / 190
|
|
|
|
200 |
518 272 98
|
Ball bearing |
3 |
InternBDB: DIN625 6319 95x200x45 | InternKon: 4523.02.09901 / 200
|
|
|
|
210 |
518 273 98
|
Ball bearing |
1 |
InternBDB: DIN625 6328 M 140x300x62 | InternKon: 4523.02.09901 / 210
|
|
|
|
220 |
796 461 73
|
Cylindrical roller bearing |
1 |
InternBDB: DIN5412 NU222ECM 110x200x38 | InternKon: 4523.02.09901 / 220
|
|
|
|
230 |
518 275 98
|
Radial oil seal |
2 |
InternBDB: DIN3760-FPM A100x120x12 | InternKon: 4523.02.09901 / 230
|
|
|
|
240 |
518 276 98
|
Radial oil seal |
6 |
InternBDB: DIN3760-FPM A120x150x12 | InternKon: 4523.02.09901 / 240
|
|
|
|
250 |
518 277 98
|
Radial oil seal |
2 |
InternBDB: DIN3760-FPM A170x200x15 | InternKon: 4523.02.09901 / 250
|
|
|
|
260 |
518 278 98
|
O-Ring |
1 |
InternBDB: 60x3 NB 70 Shore DIN03770 | InternKon: 4523.02.09901 / 260
|
|
|
|
270 |
518 279 98
|
O-Ring |
1 |
InternBDB: 125x3 NB 70 Shore DIN03770 | InternKon: 4523.02.09901 / 270
|
|
|
|
280 |
518 280 98
|
O-Ring |
3 |
InternBDB: 170x3 NB 70 Shore DIN03770 | InternKon: 4523.02.09901 / 280
|
|
|
|
290 |
518 281 98
|
O-Ring |
1 |
InternBDB: 189,5x3 NB 70 Shore DIN03770 | InternKon: 4523.02.09901 / 290
|
|
|
|
300 |
518 282 98
|
O-Ring |
1 |
InternBDB: 430x5 NB 70 Shore DIN03770 | InternKon: 4523.02.09901 / 300
|
|
|
|
310 |
518 283 98
|
O-Ring |
3 |
InternBDB: 495x5 NB 70 Shore DIN03770 | InternKon: 4523.02.09901 / 310
|
|
|
|
315 |
342 572 99
|
Circlip |
1 |
InternBDB: DIN471 A110x4 | InternKon: 4523.02.09901 / 315
|
|
|
|
320 |
342 575 99
|
Circlip |
3 |
InternBDB: DIN471 A125x4 | InternKon: 4523.02.09901 / 320
|
|
|
|
330 |
517 572 98
|
Circlip |
1 |
InternBDB: DIN472 J51x2 | InternKon: 4523.02.09901 / 330
|
|
|
|
335 |
342 699 99
|
Circlip |
1 |
InternBDB: DIN472 J200x4 | InternKon: 4523.02.09901 / 335
|
|
|
|
340 |
342 715 99
|
Circlip |
1 |
InternBDB: DIN472 J300x5 | InternKon: 4523.02.09901 / 340
|
|
|
|
350 |
796 341 73
|
Snap ring |
1 |
InternBDB: SW90x2,5 | InternKon: 4523.02.09901 / 350
|
|
|
|
360 |
796 342 73
|
Snap ring |
1 |
InternBDB: SB60x1,5 | InternKon: 4523.02.09901 / 360
|
|
|
|
370 |
518 284 98
|
Support disk |
1 |
InternBDB: DIN988 S48x60x3 | InternKon: 4523.02.09901 / 370
|
|
|
|
380 |
518 285 98
|
Feather key |
3 |
InternBDB: DIN6885 A32x18x70 min.900N/mm2 | InternKon: 4523.02.09901 / 380
|
|
|
|
390 |
518 286 98
|
Feather key |
1 |
InternBDB: DIN6885 A36x20x90 min.900N/mm2 | InternKon: 4523.02.09901 / 390
|
|
|
|
400 |
518 287 98
|
Bolt |
3 |
InternBDB: ISO4762-8.8 M12x25 gal.verz. | InternKon: 4523.02.09901 / 400
|
|
|
|
410 |
518 288 98
|
Bolt |
6 |
InternBDB: ISO4014-8.8 M16x80 gal.verz. | InternKon: 4523.02.09901 / 410
|
|
|
|
420 |
308 427 99
|
Bolt |
36 |
InternBDB: ISO4014-10.9 M16x75 | InternKon: 4523.02.09901 / 420
|
|
|
|
430 |
307 447 99
|
Bolt |
12 |
InternBDB: ISO4017-8.8 M10x25 gal.verz. | InternKon: 4523.02.09901 / 430
|
|
|
|
440 |
504 268 98
|
Bolt |
12 |
InternBDB: ISO4017-8.8 M16x40 gal.verz. | InternKon: 4523.02.09901 / 440
|
|
|
|
450 |
180 113 40
|
Plug |
19 |
InternBDB: R1/4" Ermeto VSTI1/4ED-A3C | InternKon: 4523.02.09901 / 450
|
|
|
|
460 |
505 126 98
|
Plug |
3 |
InternBDB: R1/2" Ermeto VSTI1/2ED-A3C | InternKon: 4523.02.09901 / 460
|
|
|
|
490 |
173 494 40
|
Plug |
2 |
InternBDB: M33x2 Ermeto VSTI33x2ED-A3C | InternKon: 4523.02.09901 / 490
|
|
|
|
500 |
173 495 40
|
Plug |
1 |
InternBDB: M48x2 Ermeto VSTI48x2ED-A3C | InternKon: 4523.02.09901 / 500
|
|
|
|
510 |
518 289 98
|
Plug |
1 |
InternBDB: DIN906-5.8 M33x2K gal.verz. | InternKon: 4523.02.09901 / 510
|
|
|
|
520 |
796 343 73
|
Plug |
3 |
InternBDB: DIN909-5.8 3/4"NPT gal.verz. | InternKon: 4523.02.09901 / 520
|
|
|
|
530 |
370 312 99
|
Union |
3 |
InternBDB: G 1/4"A GE 10-PLR-ED A3C | InternKon: 4523.02.09901 / 530
|
|
|
|
540 |
370 332 99
|
Union |
1 |
InternBDB: G 1/4"A EW 10-PLR-ED A3C | InternKon: 4523.02.09901 / 540
|
|
|
|
550 |
796 345 73
|
Screw plug |
1 |
InternBDB: D55x51,5x18 GPN300F35 | InternKon: 4523.02.09901 / 550
|
|