Search in all models by partnumber
Search current book

Komatsu PC5500-6 S/N 15049 parts catalog PDF

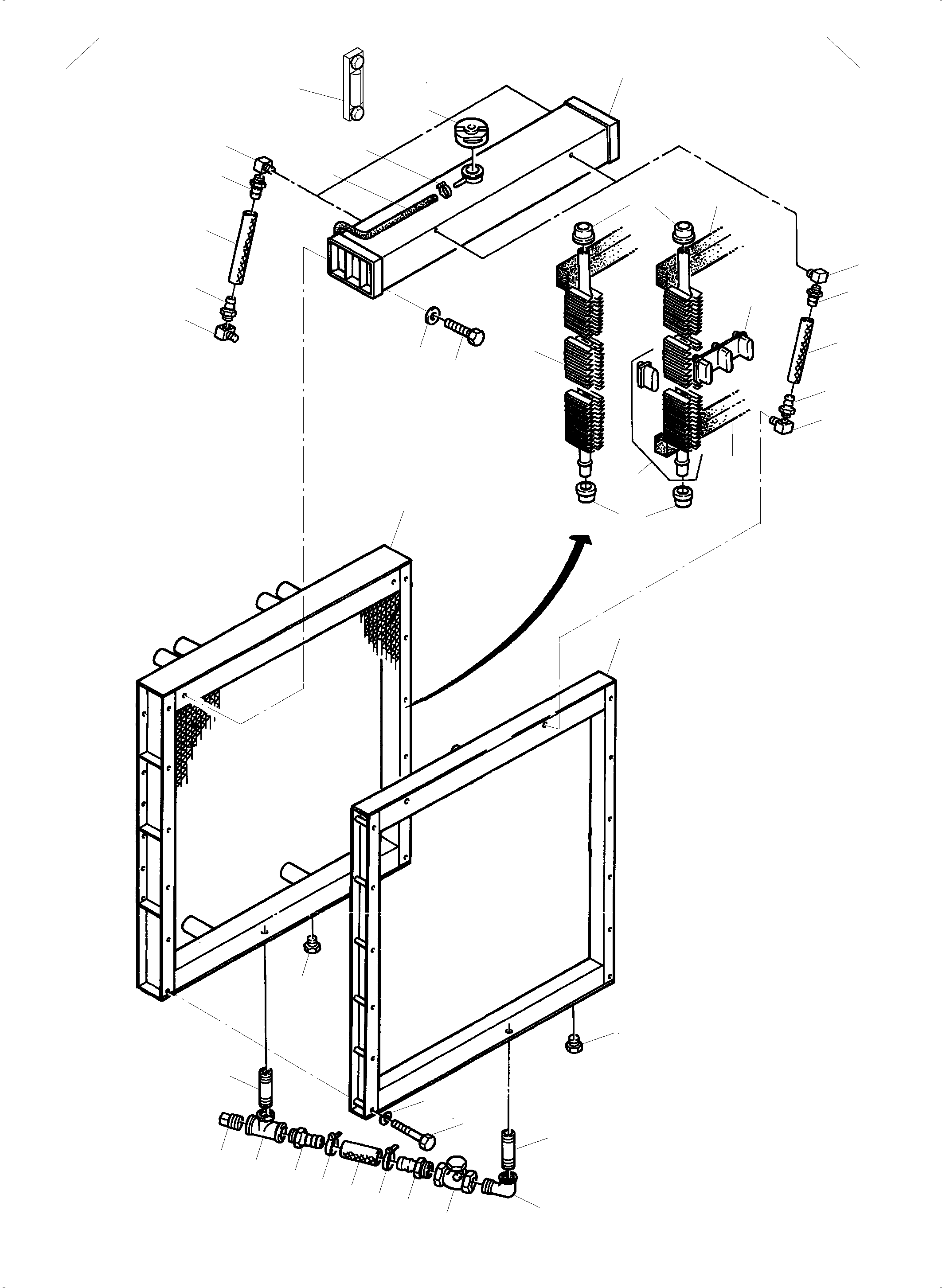
RADIATOR (991-0079a) in PC5500-6 S/N 15049. Diagram image and parts list.

Model manual types and quick links