|
|
? |
|
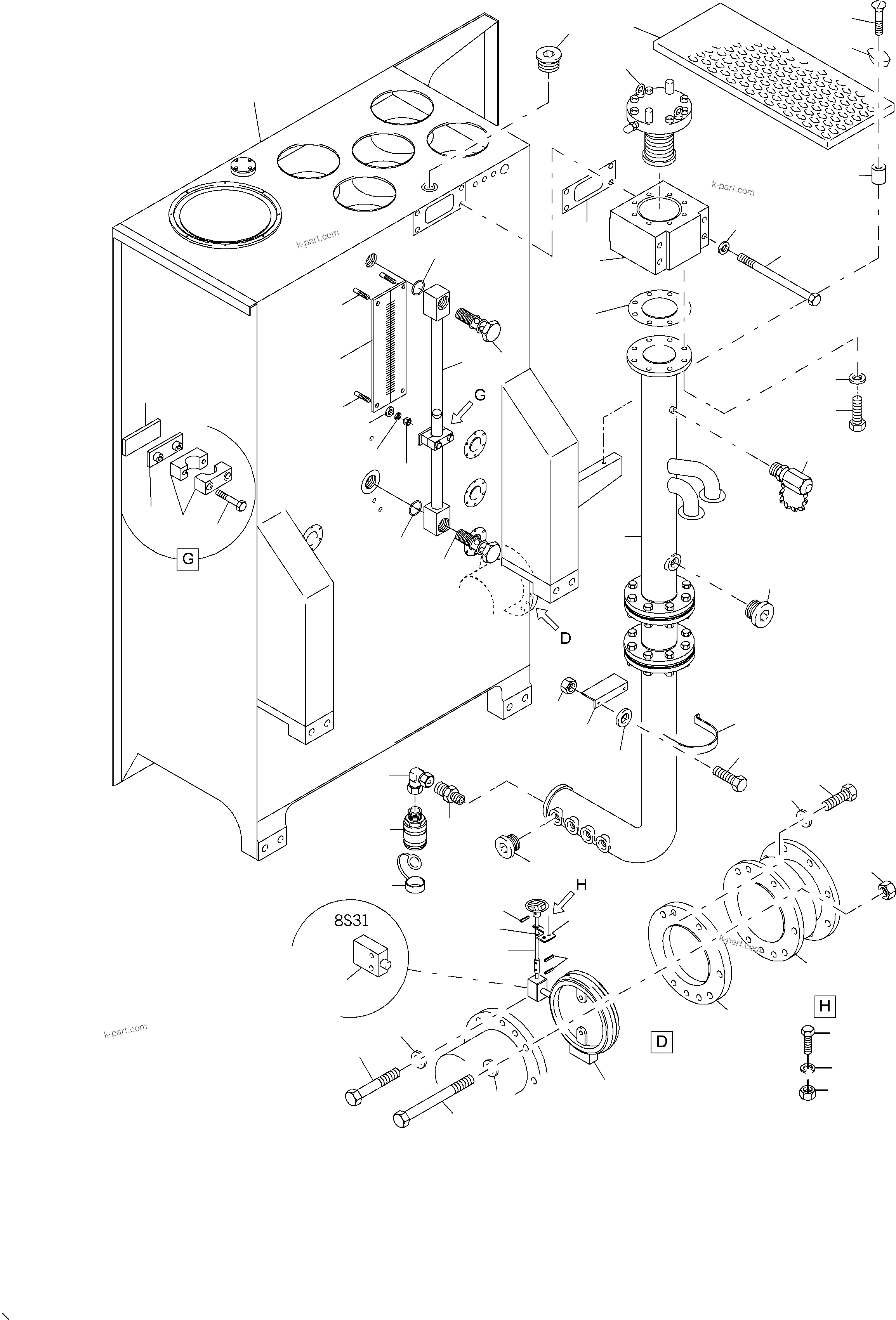
Pressure relief valve |
1 |
InternBDB: 907 048 40 | InternKon: 598 307 40 / 2
|
991-0413 |
|
|
? |
386 698 40
|
Valve block |
1 |
InternKon: 598 307 40 / 1
|
|
|
|
? |
947 705 40
|
Oil tank MB |
1 |
InternKon: 947 701 40 / 1
|
|
|
|
? |
389 472 40
|
Seal |
1 |
InternKon: 947 701 40 / 12
|
|
|
|
? |
316 213 99
|
Washer |
4 |
InternKon: 947 701 40 / 38
|
|
|
|
? |
304 327 99
|
Bolt |
4 |
InternBDB: M24x330 /931 | InternKon: 947 701 40 / 27
|
|
|
|
? |
389 473 40
|
Seal |
1 |
InternKon: 947 701 40 / 36
|
|
|
|
? |
938 209 40
|
Standpipe assy. |
1 |
InternKon: 947 701 40 / 29
|
|
|
|
? |
316 212 99
|
Washer |
8 |
InternKon: 947 701 40 / 58
|
|
|
|
? |
500 333 98
|
Bolt |
8 |
InternBDB: M20x50 /933 | InternKon: 947 701 40 / 57
|
|
|
|
? |
945 996 40
|
Grating |
1 |
InternKon: 947 701 40 / 19
|
|
|
|
? |
317 319 40
|
Threaded block |
4 |
InternKon: 947 701 40 / 90
|
|
|
|
? |
317 318 40
|
Wing nut, plastic |
4 |
InternKon: 947 701 40 / 91
|
|
|
|
? |
502 354 98
|
Bolt |
4 |
InternKon: 947 701 40 / 92
|
|
|
|
? |
592 810 40
|
Clamp |
1 |
InternKon: 947 701 40 / 54
|
|
|
|
? |
939 445 40
|
Angle |
1 |
InternKon: 947 701 40 / 53
|
|
|
|
? |
334 599 99
|
Nut |
4 |
InternBDB: M 8 | InternKon: 947 701 40 / 56
|
|
|
|
? |
501 323 98
|
Washer |
2 |
InternBDB: R9,5 DIN00440 | InternKon: 947 701 40 / 122
|
|
|
|
? |
081 495 40
|
Oil drain coupling |
1 |
InternKon: 947 701 40 / 16
|
|
|
|
? |
081 496 40
|
Protection cap |
1 |
InternKon: 947 701 40 / 17
|
|
|
|
? |
006 739 98
|
O-ring |
6 |
InternBDB: 89,2x5,7 | InternKon: 947 701 40 / 24
|
|
|
|
? |
251 787 40
|
Cover |
6 |
InternKon: 947 701 40 / 10
|
|
|
|
? |
346 510 99
|
Lock washer |
44 |
InternKon: 947 701 40 / 41
|
|
|
|
? |
180 477 40
|
Plug |
6 |
InternBDB: Vsti 1/2 | InternKon: 947 701 40 / 52
|
|
|
|
? |
324 550 40
|
Plug |
1 |
InternBDB: 3/4 - NPT | InternKon: 947 701 40 / 50
|
|
|
|
? |
907 564 40
|
Oil level glass 960 mm lg. / M14x1,5 |
2 |
InternBDB: 10-LM | InternKon: 947 701 40 / 46
|
|
|
|
? |
972 099
|
O-ring |
2 |
InternBDB: 15,88x2,62 NBR
|
|
|
|
? |
511 602 98
|
Banjo bolt |
2 |
InternBDB: HS 10 14x1,5 TN A3CX DIN 7643
|
|
|
|
? |
904 748 40
|
Butterfly valve DN 200 |
1 |
InternKon: 947 701 40 / 15
|
|
|
|
? |
500 716 40
|
Flange |
1 |
InternKon: 947 701 40 / 43
|
|
|
|
? |
440 723 40
|
Compensator DN 200 |
1 |
InternKon: 947 701 40 / 25
|
|
|
|
? |
308 670 99
|
Bolt |
4 |
InternBDB: M20x100 /931 | InternKon: 947 701 40 / 35
|
|
|
|
? |
340 470 99
|
Washer |
12 |
InternBDB: Ш 21 | InternKon: 947 701 40 / 44
|
|
|
|
? |
308 675 99
|
Bolt |
6 |
InternBDB: M20x150 /931 | InternKon: 947 701 40 / 39
|
|
|
|
? |
307 845 99
|
Bolt |
2 |
InternBDB: M20x50 8.8 /933 | InternKon: 947 701 40 / 28
|
|
|
|
? |
334 686 99
|
Nut |
6 |
InternBDB: M 20x985 | InternKon: 947 701 40 / 31
|
|
|
|
? |
769 653 73
|
Limit switch |
1 |
|
|
|
|
? |
515 812 98
|
Test coupling |
1 |
InternKon: 947 701 40 / 22
|
|
|
|
? |
173 494 40
|
Plug |
1 |
InternBDB: Vsti M 33x2,0 | InternKon: 947 701 40 / 42
|
|
|
|
? |
|
Filter |
2 |
InternBDB: 941 105 40 | InternKon: 947 701 40 / 14
|
991-0890 |
|
|
? |
|
Return oil filter |
4 |
InternBDB: 906 470 40 | InternKon: 947 701 40 / 13
|
991-0349 |
|
|
? |
308 874 99
|
Bolt |
5 |
InternBDB: M 16x130 / 931 | InternKon: 947 701 40 / 34
|
|
|
|
? |
910 951 40
|
Filter cover |
5 |
InternKon: 947 701 40 / 4
|
|
|
|
? |
910 954 40
|
Bushing |
5 |
InternKon: 947 701 40 / 9
|
|
|
|
? |
366 504 40
|
Compression spring |
5 |
InternKon: 947 701 40 / 8
|
|
|
|
? |
502 119 98
|
O-ring |
5 |
InternBDB: 269,3x5,70 / NB 70 | InternKon: 947 701 40 / 23
|
|
|
|
? |
910 948 40
|
Cover |
5 |
InternKon: 947 701 40 / 5
|
|
|
|
? |
436 040 40
|
U-bolt |
1 |
InternKon: 947 701 40 / 7
|
|
|
|
? |
630 086 40
|
U-bolt |
1 |
InternKon: 947 701 40 / 21
|
|
|
|
? |
304 309 99
|
Bolt |
2 |
InternBDB: M30x200 /931 | InternKon: 947 701 40 / 26
|
|
|
|
? |
515 820 98
|
Hose DN 12 x 530 |
1 |
InternBDB: DOL 15 / DOL 15 - 90 | InternKon: 947 701 40 / 83
|
|
|
|
? |
916 745 40
|
Cover |
1 |
InternKon: 947 701 40 / 3
|
|
|
|
? |
916 746 40
|
Seal |
1 |
InternKon: 947 701 40 / 18
|
|
|
|
? |
307 752 99
|
Bolt |
48 |
InternBDB: M8x20 /933 | InternKon: 947 701 40 / 32
|
|
|
|
? |
916 747 40
|
Flange |
1 |
|
|
|
|
? |
940 022 40
|
Plug |
1 |
InternBDB: M64x2 / 5.8 /910 | InternKon: 947 701 40 / 48
|
|
|
|
? |
516 235 98
|
Socket |
1 |
InternBDB: L 22-M / 3945 | InternKon: 947 701 40 / 67
|
|
|
|
? |
516 160 98
|
Socket |
1 |
InternBDB: L 22 / 3942 | InternKon: 947 701 40 / 68
|
|
|
|
? |
654 652 40
|
Maintenance switch |
1 |
InternKon: 944 006 40 / 17
|
|
|
|
? |
515 553 98
|
Hose DN 10 x 700 |
1 |
InternBDB: DOL 12 / DOL 12 | InternKon: 947 701 40 / 75
|
|
|
|
? |
516 175 98
|
Socket |
1 |
InternBDB: L 15 / 3944 | InternKon: 947 701 40 / 76
|
|
|
|
? |
551 987 40
|
Socket |
2 |
InternBDB: RED 15/12-PL / OMD | InternKon: 947 701 40 / 77
|
|
|
|
? |
371 459 99
|
Socket |
2 |
InternBDB: L 12E-G 3/8 / 3901 | InternKon: 947 701 40 / 78
|
|
|
|
? |
516 157 98
|
Union |
2 |
InternBDB: L12 / DIN 3942 / St-NBR | InternKon: 947 701 40 / 79
|
|
|
|
? |
374 436 99
|
Socket |
2 |
InternBDB: L 15E-G 1/2 / 3901 | InternKon: 947 701 40 / 80
|
|
|
|
? |
255 694 99
|
Plug |
2 |
InternBDB: VSTI R 3/8 ED / WN 34193140 | InternKon: 947 701 40 / 81
|
|
|
|
? |
|
Return oil filter |
1 |
InternBDB: 906 472 40 | InternKon: 947 701 40 / 82
|
991-0351 |
|
|
? |
940 730 40
|
4/2 way directional spool valve |
1 |
InternBDB: Eaton Fluid 02-411976 DG4V-3M-0A-M-KUP5D2-H7-60 | InternKon: 947 701 40 / 69
|
|
|
|
? |
180 325 40
|
Base plate |
1 |
InternBDB: G 342/1 | InternKon: 947 701 40 / 70
|
|
|
|
? |
933 881 40
|
Retainer |
1 |
InternKon: 947 701 40 / 72
|
|
|
|
? |
514 340 98
|
Screw |
4 |
InternBDB: M5x30 /912 10.9 | InternKon: 947 701 40 / 71
|
|
|
|
? |
319 132 99
|
Screw |
4 |
InternBDB: M6x25 /912 | InternKon: 947 701 40 / 73
|
|
|
|
? |
507 025 98
|
Nut |
2 |
InternBDB: M 6 /985 | InternKon: 947 701 40 / 74
|
|
|
|
? |
516 041 98
|
Hose DN 10 x 400 |
1 |
InternBDB: DOL 12 / DOL 12-90 | InternKon: 947 701 40 / 55
|
|
|
|
? |
953 320 40
|
Retainer |
1 |
InternKon: 947 701 40 / 84
|
|
|
|
? |
350 768 99
|
Washer |
4 |
InternBDB: R11,0 DIN00440 | InternKon: 947 701 40 / 85
|
|
|
|
? |
909 072 40
|
Rod |
1 |
InternKon: 947 701 40 / 86
|
|
|
|
? |
350 562 99
|
Grease nipple |
1 |
InternKon: 947 701 40 / 87
|
|
|
|
? |
345 052 99
|
Dowel pin |
3 |
InternBDB: 6x36 / 1481 | InternKon: 947 701 40 / 88
|
|
|
|
? |
901 859 40
|
Standpipe top |
1 |
InternKon: 938 209 40 / 1
|
|
|
|
? |
938 503 40
|
Standpipe lower |
1 |
InternKon: 938 209 40 / 2
|
|
|
|
? |
938 504 40
|
Standpipe middle |
1 |
InternKon: 938 209 40 / 3
|
|
|
|
? |
941 102 40
|
Filter |
1 |
InternBDB: DN 150 | InternKon: 938 209 40 / 4
|
|
|
|
? |
389 473 40
|
Seal |
3 |
InternBDB: 285 / 161x2 | InternKon: 938 209 40 / 5
|
|
|
|
? |
514 857 98
|
Bolt |
8 |
InternBDB: M 20x80 / 931 / 10.9 | InternKon: 938 209 40 / 6
|
|
|
|
? |
514 092 98
|
Bolt |
8 |
InternBDB: M 20x70 / 931 / 10.9 | InternKon: 938 209 40 / 7
|
|
|
|
? |
652 801 40
|
Plate |
1 |
InternBDB: 6x30x54 | InternKon: 947 701 40 / 93
|
|
|
|
? |
502 631 98
|
Clamp set |
1 |
InternBDB: L-2-G-16 / 3015 | InternKon: 947 701 40 / 94
|
|
|
|
? |
533 989 99
|
Weld on plate |
1 |
InternBDB: L-AP-K-2/ 3015 | InternKon: 947 701 40 / 95
|
|
|
|
? |
509 875 98
|
Thread pin |
4 |
InternBDB: PM 8x25
|
|
|
|
? |
507 596 98
|
Washer |
4 |
InternBDB: A 11 / DIN 07989 | InternKon: 904 625 40 / 29
|
|
|
|
? |
340 507 99
|
Washer |
4 |
InternBDB: A 8,4 140HV / DIN 125 | InternKon: 904 625 40 / 30
|
|
|
|
? |
334 599 99
|
Nut |
4 |
InternBDB: M 8 / DIN 985 | InternKon: 904 625 40 / 31
|
|
|
|
? |
180 477 40
|
Plug |
1 |
InternBDB: VSTI R 1/2 ED | InternKon: 938 209 40 / 9
|
|
|
|
? |
904 620 40
|
Decal oil level |
1 |
InternKon: 904 625 40 / 8
|
|
|
|
? |
307 779 99
|
Bolt |
2 |
InternBDB: M10x30 8.8 DIN00923 | InternKon: 947 701 40 / 125
|
|
|
|
? |
255 171 40
|
Plug |
1 |
InternBDB: VSTI M10x1,0ED WN34191340 | InternKon: 947 701 40 / 130
|
|
|
|
? |
171 260 40
|
Plug |
1 |
InternBDB: VSTI M12x1,5ED WN34191340 | InternKon: 947 701 40 / 131
|
|
|
|
? |
255 985 40
|
Plug |
1 |
InternBDB: VSTI M14x1,5ED WN34191340 | InternKon: 947 701 40 / 132
|
|
|
|
? |
180 113 40
|
Plug |
1 |
InternBDB: VSTI R1/4ED WN34191340 | InternKon: 947 701 40 / 133
|
|
|
|
? |
515 220 40
|
Nut |
3 |
InternBDB: M10 A2-70 DIN1669 | InternKon: 947 701 40 / 120
|
|