Find books across the catalog from one place.
This page is prepared as the search workspace. The search behavior itself can be connected in the next step.
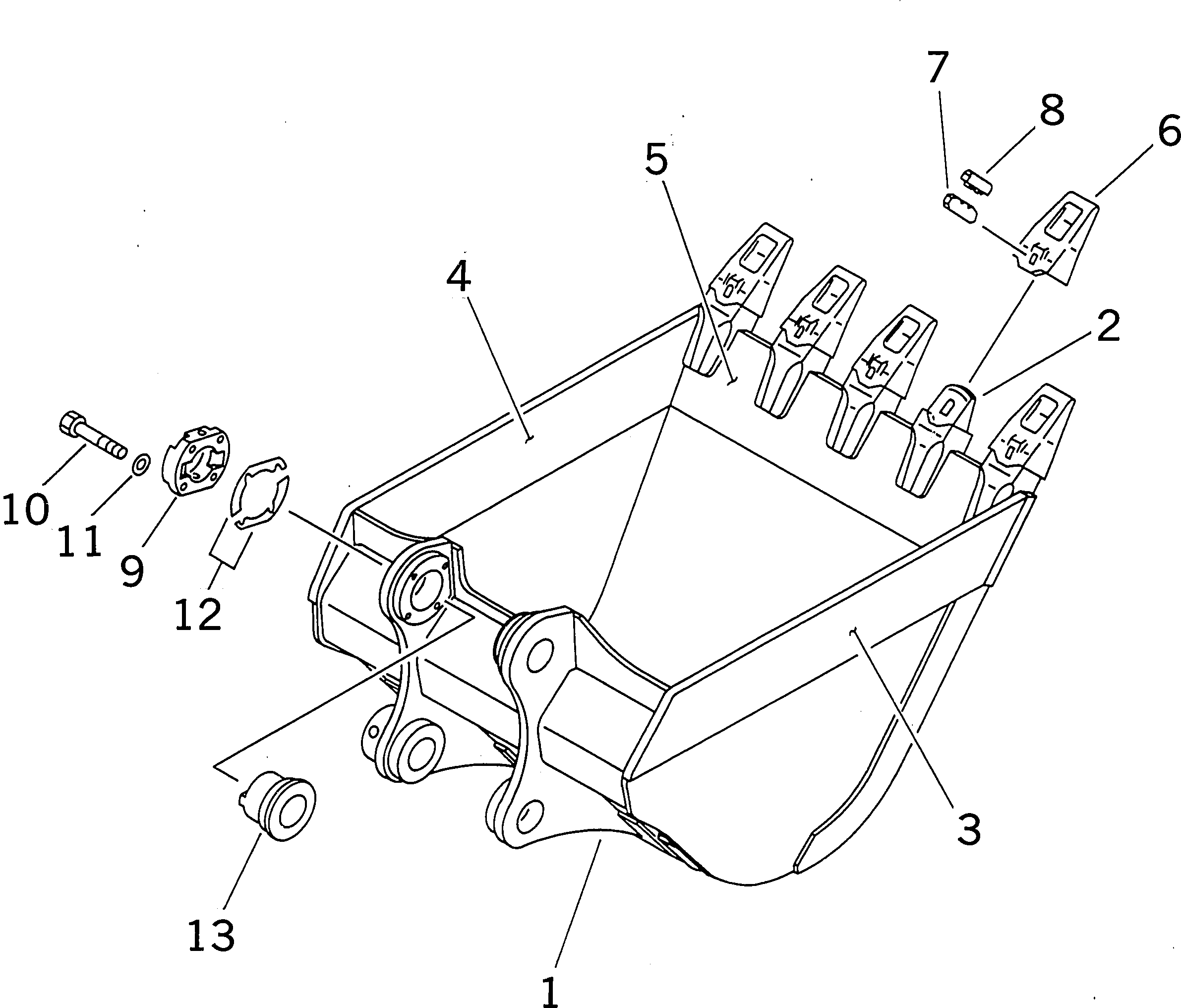
6212611203.BUCKET ? 2.2M3 (CECE 2.0M3) ? 1715MM (VERTICAL PIN TYPE) (WITH ADJUSTING) (T1510-01A8) in PC400LC-6 S/N 30001-UP (SAA6D125E-2 (Emission) Eng. Installed). Diagram image and parts list.
Test text. Dear users! Access to the special equipment catalogs is paid. You can review the service usage rules and tariffs on the page!