Find books across the catalog from one place.
This page is prepared as the search workspace. The search behavior itself can be connected in the next step.
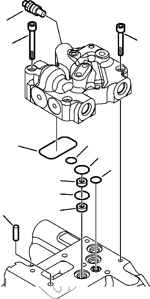
6212611203.H6104-01A0 HYDRAULIC PUMP CONTROL VALVE MOUNTING (4/4) S/N A63001-A63103 (H6104-01A0) in WB156-5 BACKHOE LOADER S/N A63001-UP. Diagram image and parts list.
Test text. Dear users! Access to the special equipment catalogs is paid. You can review the service usage rules and tariffs on the page!