|
|
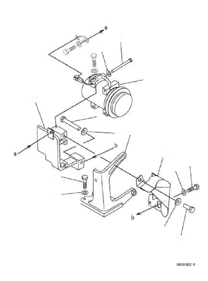
1 |
423-S62-4330
|
COMPRESSOR ASS'Y |
1 |
Field_1: COMPRESSOR ASS'Y | Field_2: DBBT0001~
|
|
|
|
2 |
201-979-8824
|
BRACKET |
1 |
Field_1: BRACKET | Field_2: DBBT0001~
|
|
|
|
3 |
201-979-8814
|
BRACKET |
1 |
Field_1: BRACKET | Field_2: DBBT0001~
|
|
|
|
4 |
01010-81440
|
BOLT |
1 |
Field_1: BOLT | Field_2: DBBT0001~
|
|
|
|
5 |
01643-A1445
|
WASHER |
1 |
Field_1: WASHER | Field_2: DBBT0001~
|
|
|
|
6 |
01010-81490
|
BOLT |
1 |
Field_1: BOLT | Field_2: DBBT0001~
|
|
|
|
7 |
01643-31445
|
WASHER |
1 |
Field_1: WASHER | Field_2: DBBT0001~
|
|
|
|
8 |
01010-80895
|
BOLT |
1 |
Field_1: BOLT | Field_2: DBBT0001~
|
|
|
|
9 |
01643-30823
|
WASHER |
4 |
Field_1: WASHER | Field_2: DBBT0001~
|
|
|
|
10 |
01010-81035
|
BOLT |
4 |
Field_1: BOLT | Field_2: DBBT0001~
|
|
|
|
11 |
01643-31032
|
WASHER |
4 |
Field_1: WASHER | Field_2: DBBT0001~
|
|
|
|
12 |
201-979-8832
|
COVER |
1 |
Field_1: COVER | Field_2: DBBT0001~
|
|
|
|
13 |
01010-80816
|
BOLT |
1 |
Field_1: BOLT | Field_2: DBBT0001~
|
|
|
|
14 |
01643-30823
|
WASHER |
2 |
Field_1: WASHER | Field_2: DBBT0001~
|
|