|
|
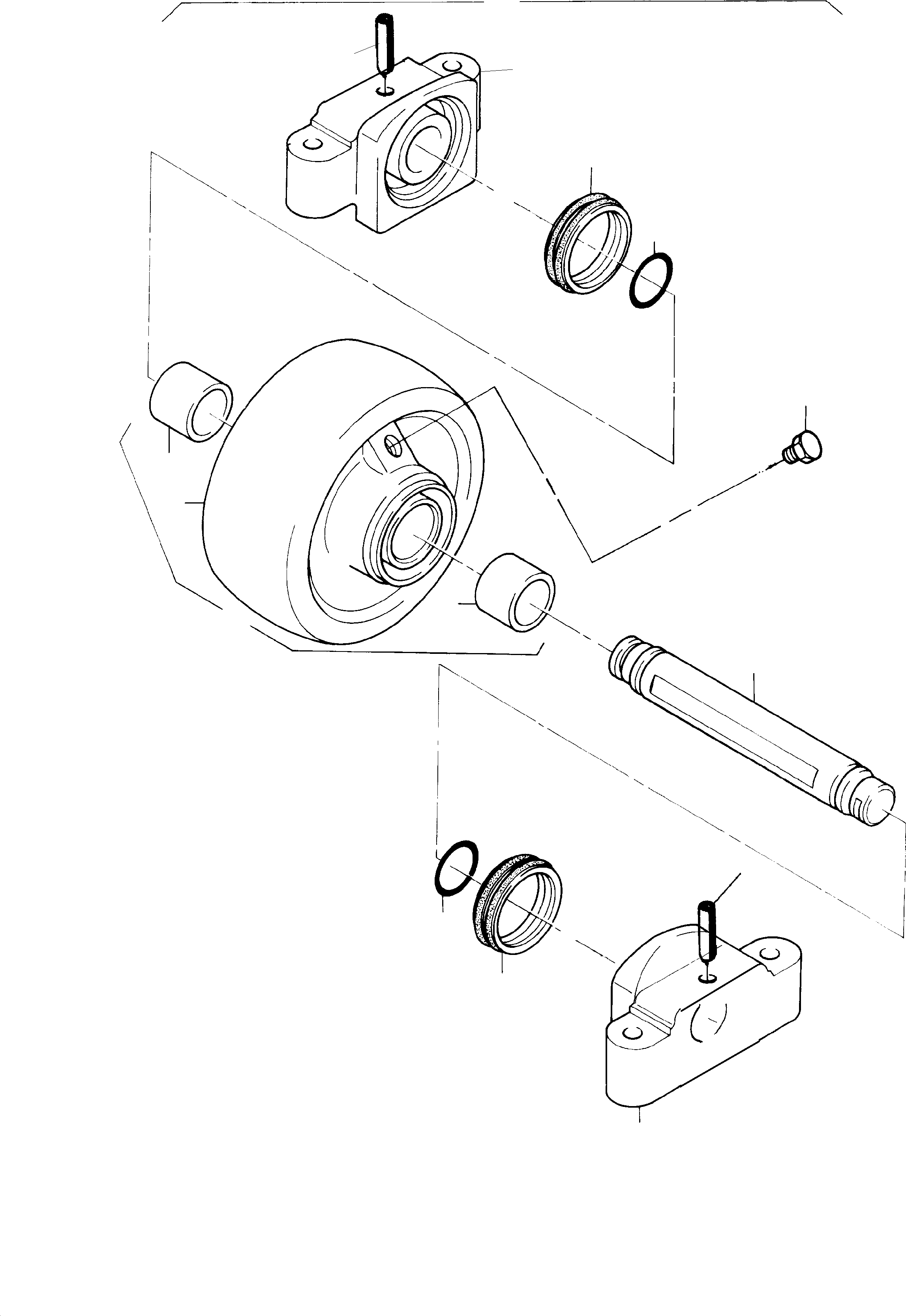
01 |
429 687 40
|
Top roller, assy. |
1 |
InternBDB: DBM AT-Nr. 710 500 73
|
|
|
|
05 |
429 683 40
|
Roller bearing |
2 |
InternKon: 429 687 40 / 2
|
|
|
|
06 |
345 218 99
|
Dowel pin |
2 |
InternKon: 429 687 40 / 6
|
|
|
|
07 |
324 067 40
|
Lifetime seal |
2 |
InternBDB: Goetze 76.90 H12 A3 | InternKon: 429 687 40 / 4
|
|
|
|
08 |
502 869 98
|
O-ring |
2 |
InternBDB: 71x5 /70 3770 | InternKon: 429 687 40 / 5
|
|
|
|
09 |
429 685 40
|
Top roller body with bush |
1 |
InternKon: 429 687 40 / 1
|
|
|
|
10 |
429 686 40
|
Top roller body |
1 |
InternKon: 429 685 40 / 1
|
|
|
|
11 |
429 684 40
|
Freeze-in bush |
2 |
InternBDB: 102/78x66 keine Nacharbeit erforderlich | InternKon: 429 685 40 / 2
|
|
|
|
13 |
313 484 99
|
Plug |
1 |
InternBDB: M26x1,5 /906 | InternKon: 429 687 40 / 7
|
|
|
|
14 |
429 695 40
|
Axle |
1 |
InternBDB: Ш 90x460 | InternKon: 429 687 40 / 3
|
|
|
|
|$$11 |
763 485 73
|
Seal kit
fig-nos: 07,08 and 13 |
-2 |
InternBDB: E-ST
|
|
|
|
|$$12 |
|
Top roller is filled with oil |
-2 |
InternBDB: 7 l C-LP 220 002 018 99
|
|