|
|
? |
ED4372
|
GUARD, BELT |
1 |
|
|
|
|
? |
WA0720
|
FLAT WASHER - 3/8" (HARDENED) |
11 |
|
|
|
|
? |
C1601
|
CAPSCREW - 3/8" - 16NC X 3/4" |
3 |
|
|
|
|
? |
1270378H2
|
ASSM, BELT TENSIONER |
1 |
|
|
|
|
? |
VN9157
|
CAPSCREW - 3/8" - 16NC X 5" |
1 |
|
|
|
|
? |
TG9225
|
LOCKNUT - 3/8" |
1 |
|
|
|
|
? |
PB9227
|
V-BELT, COMPRESSOR |
1 |
|
|
|
|
? |
EF9669
|
ASSM, SPACER |
1 |
|
|
|
|
? |
EF2658
|
PIN |
1 |
|
|
|
|
? |
EF9281
|
SPACER |
1 |
|
|
|
|
? |
EF0185
|
PULLEY |
1 |
|
|
|
|
? |
H0744
|
CAPSCREW - 3/8" - 16NC X 2" (SOCKET HEAD) |
3 |
|
|
|
|
? |
EF0187
|
BRACKET |
1 |
|
|
|
|
? |
ED1154
|
LINK |
2 |
|
|
|
|
? |
C1604
|
CAPSCREW - 3/8" - 16NC X 1 1/2" |
7 |
|
|
|
|
? |
C1521
|
NUT - 3/8" - 16NC |
8 |
|
|
|
|
? |
EF0308
|
MOUNT, FRONT |
1 |
|
|
|
|
? |
WA0723
|
FLAT WASHER - 5/16" |
3 |
|
|
|
|
? |
C7568
|
CAPSCREW |
3 |
|
|
|
|
? |
PB9069
|
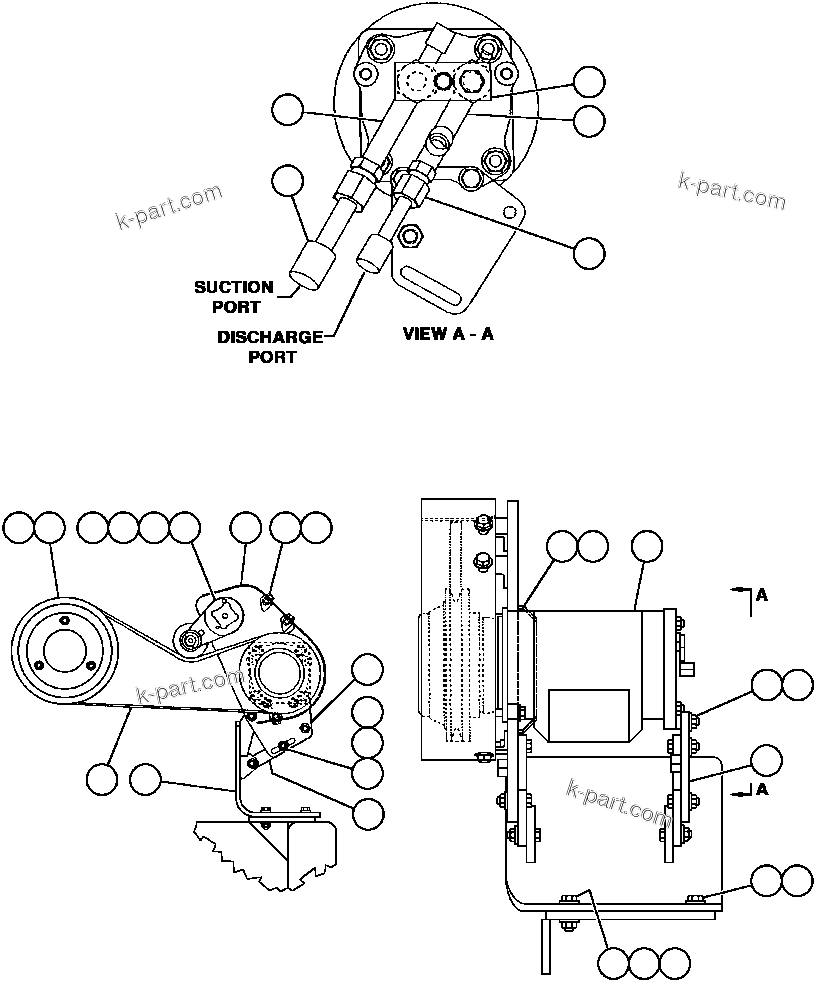
COMPRESSOR, AIR CONDITIONER |
1 |
|
|
|
|
? |
C1603
|
CAPSCREW - 3/8" - 16NC X 1 1/4" |
3 |
|
|
|
|
? |
ED4369
|
MOUNT, REAR |
1 |
|
|
|
|
? |
MM0004
|
CAPSCREW - M12 X 1.75 X 20 |
2 |
|
|
|
|
? |
MM0714
|
FLAT WASHER - M12 - (HARDENED ZINC PLATE) |
4 |
|
|
|
|
? |
MM0039
|
CAPSCREW - M12 X 1.75 X 35 |
1 |
|
|
|
|
? |
MM0179
|
NUT - M12 |
1 |
|
|
|
|
? |
PB8730
|
PLATE, HOLD DOWN |
1 |
|
|
|
|
? |
PB9152
|
ASSM, FITTING - A/C COMPRESSOR |
1 |
|
|
|
|
? |
HA7185
|
HOSE - DISCHARGE |
1 |
|
|
|
|
? |
HA7169
|
HOSE |
1 |
|
|
|
|
? |
PB9153
|
ASSM, FITTING - A/C COMPRESSOR |
1 |
|
|