|
|
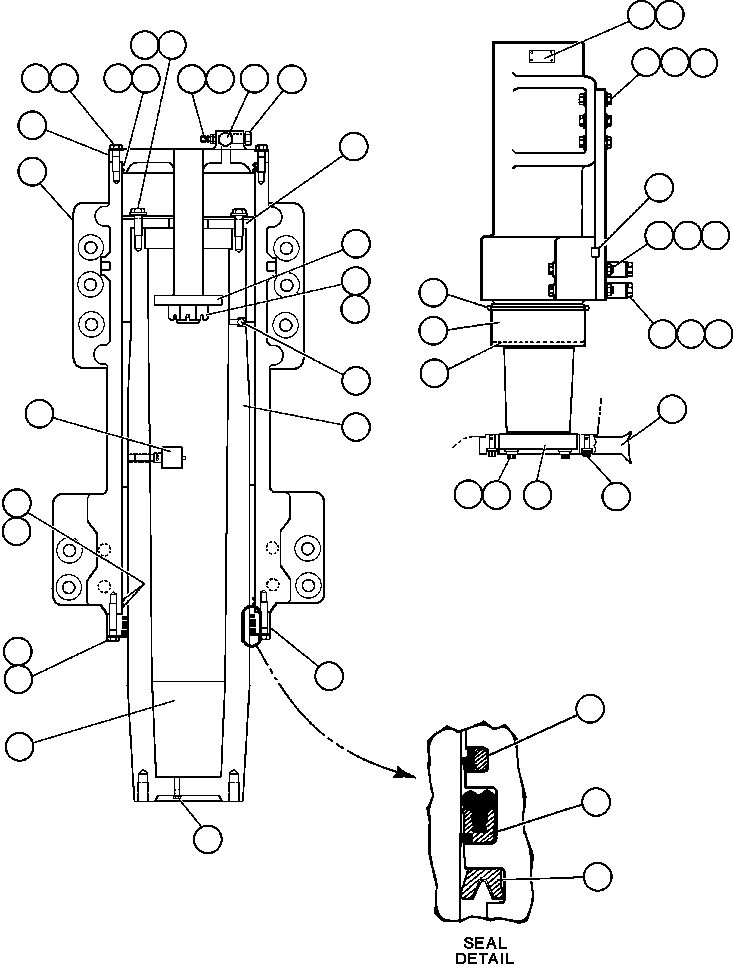
1 |
ED0195
|
HOUSING |
1 |
|
|
|
|
2 |
ED2452
|
CAP, SUSPENSION |
1 |
|
|
|
|
3 |
WA0363
|
FLAT WASHER - 3/4" (HARDENED) |
60 |
|
|
|
|
4 |
VN9088
|
CAPSCREW - 3/4" - 10NC X 2 1/2" - G8 |
24 |
|
|
|
|
5 |
WA1282
|
RING, BACK-UP (1) |
4 |
|
|
|
|
6 |
WA5668
|
SEAL, O-RING (1) |
4 |
|
|
|
|
7 |
VN9105
|
CAPSCREW - 3/4" - 10NC X 3" - G8 |
12 |
|
|
|
|
8 |
ED2455
|
BEARING, UPPER |
1 |
|
|
|
|
9 |
TY8125
|
WASHER, SNUBBER |
1 |
|
|
|
|
10 |
VW4451
|
NUT |
1 |
|
|
|
|
11 |
VC2629
|
PIN, LOCK |
1 |
|
|
|
|
12 |
H2981
|
BALL, STEEL |
2 |
|
|
|
|
13 |
EG1216
|
ROD, PISTON |
1 |
|
|
|
|
14 |
EF8391
|
BEARING, LOWER |
1 |
|
|
|
|
15 |
VN9131
|
CAPSCREW - 3/4" - 10NC X 3 3/4" - G8 |
24 |
|
|
|
|
16 |
VM0314
|
PLUG, O-RING |
1 |
|
|
|
|
17 |
VJ3911
|
OIL, SUSPENSION (5 GAL CAN) |
1 |
|
|
|
|
17 |
AK3761
|
ADDITIVE, OIL (5 GAL CAN) |
1 |
|
|
|
|
18 |
EG1212
|
VALVE (SEE INDEX) |
1 |
|
60145 |
|
|
19 |
PB2194
|
VALVE, CHARGING (1) |
1 |
|
|
|
|
19 |
TR9993
|
VALVE CAP |
1 |
|
|
|
|
19 |
TD7179
|
VALVE CORE |
1 |
|
|
|
|
19 |
TF1144
|
O-RING - HOUSING |
1 |
|
|
|
|
19 |
WA0052
|
O-RING - VALVE STEM |
1 |
|
|
|
|
20 |
VD5076
|
GASKET, FLAT |
1 |
|
|
|
|
21 |
TY8879
|
PLUG, VENT |
1 |
|
|
|
|
22 |
TZ8637
|
PLUG, SENSOR |
1 |
|
|
|
|
23 |
PB9958
|
SEAL, ROD BUFFER - 15 1/2" (1) |
1 |
|
|
|
|
24 |
PB9788
|
SEAL, ROD DOUBLE LIP - 15 1/2" (1) |
1 |
|
|
|
|
25 |
PB9959
|
SEAL, WIPER - 12 1/2" (1) |
1 |
|
|
|
|
26 |
WA2892
|
PLATE, WARNING |
2 |
|
|
|
|
27 |
R1073
|
SCREW, DRIVE - #6 X .19 |
8 |
|
|
|
|
28 |
ED7916
|
KEY, SHEAR |
1 |
|
|
|
|
29 |
WA0368
|
FLAT WASHER - 1 1/2" (HARDENED) |
12 |
|
|
|
|
30 |
VN9182
|
CAPSCREW - 1 1/2" - 6NC X 6" - G8 |
6 |
|
|
|
|
31 |
WA0404
|
NUT - 6NC - G8 |
6 |
|
|
|
|
32 |
WA0370
|
FLAT WASHER - 1 3/4" (HARDENED) |
12 |
|
|
|
|
33 |
WB0925
|
CAPSCREW - 1 3/4" - 5NC X 14" |
8 |
|
|
|
|
34 |
WA0405
|
NUT - 5NC - G8 |
4 |
|
|
|
|
35 |
ED7915
|
SPACER |
4 |
|
|
|
|
36 |
ED7912
|
RETAINER, PLATE |
1 |
|
|
|
|
37 |
TY2149
|
FLAT WASHER (HARDENED) |
14 |
|
|
|
|
38 |
WA4817
|
CAPSCREW - 1 1/4" - 12NF X 5" (12 PT HEAD) |
38 |
|
|
|
|
39 |
EF2753
|
ARM, STEERING - L.H. |
1 |
|
|
|
|
39 |
EF2754
|
ARM, STEERING - R.H. |
1 |
|
|
|
|
40 |
TF4079
|
CLAMP |
2 |
|
|
|
|
41 |
EF3373
|
BOOT |
1 |
|
|
|
|
42 |
EF3374
|
BOOT WIRE |
1 |
|
|
|
|
NS|49 |
|
NOTE: NS = NOT SHOWN |
-1 |
|
|
|
|
NS|50 |
WA3925
|
DECAL, HYDRAIR |
1 |
|
|
|
|
NS|51 |
AK3857
|
NOTE: (1) INCLUDED IN AK3857 SEAL KIT. |
1 |
|
|
|
|
NS|52 |
|
(QUANTITIES SHOWN ARE ONE SIDE ONLY) |
-1 |
|
|