|
|
? |
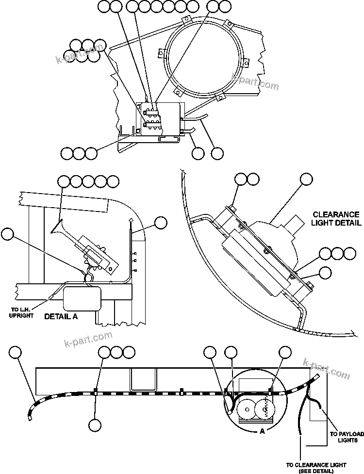
EJ8348
|
HARNESS, L.H. UPRIGHT |
1 |
|
|
|
|
? |
TG2568
|
CLAMP - 7/8" I.D. |
5 |
|
|
|
|
? |
TR4436
|
FLAT WASHER - 3/8" |
5 |
|
|
|
|
? |
TC1231
|
LOCKWASHER - 3/8" |
5 |
|
|
|
|
? |
TC1233
|
NUT - 3/8" - 16NC |
5 |
|
|
|
|
? |
VZ3250
|
DIODE |
1 |
|
|
|
|
? |
HC9043
|
KNIFE, DISCONNECT |
2 |
|
|
|
|
? |
TC6058
|
CLAMP - 1 1/2" I.D. |
4 |
|
|
|
|
? |
PB9255
|
HORN, FRONT |
1 |
|
|
|
|
? |
MM0617
|
CAPSCREW - M12 X 1.75 X 25 |
2 |
|
|
|
|
? |
MM0462
|
FLAT WASHER - M12 |
2 |
|
|
|
|
? |
MM0472
|
LOCKWASHER - M12 |
2 |
|
|
|
|
? |
MM0179
|
NUT - M12 X 1.75 |
2 |
|
|
|
|
? |
EJ5652
|
HARNESS, L.H. DECK JUMPER |
1 |
|
|
|
|
? |
AK8456
|
LIGHT, FRONT TURN & CLEARANCE (SEE FIG 41107) |
1 |
|
41107 |
|
|
? |
TY7470
|
PLATE, MOUNTING |
1 |
|
|
|
|
? |
DC5004
|
SCREW, MACHINE - #12 - 24NC X 1/2" |
3 |
|
|
|
|
? |
VD2047
|
LOCKWASHER - #12 |
3 |
|
|
|
|
? |
TR8580
|
NUT - #12 - 24NC |
3 |
|
|
|
|
? |
VN6402
|
CAPSCREW - 3/8" - 16NC X 3/8" |
4 |
|
|
|
|
? |
C0312
|
LOCKWASHER - 3/8" |
4 |
|
|
|
|
? |
EJ5656
|
HARNESS, L.H. FRAME RAIL |
1 |
|
|
|
|
? |
TZ0876
|
JUNCTION BOX ASSEMBLY - L.H. |
1 |
|
|
|
|
? |
TZ0549
|
BOX |
1 |
|
|
|
|
? |
WA3367
|
NUT ASSEMBLY |
24 |
|
|
|
|
? |
VS8479
|
BOARD, TERMINAL |
2 |
|
|
|
|
? |
VF2231
|
SCREW, MACHINE - #10 - 24NC X 3/8" |
4 |
|
|
|
|
? |
DC3101
|
LOCKWASHER - #10 |
4 |
|
|
|
|
? |
SR8325
|
SWITCH, TOGGLE |
1 |
|
|
|
|
? |
PB3324
|
BOOT, SWITCH |
1 |
|
|
|
|
? |
WA6683
|
STRIP, CIRCUIT I.D. |
1 |
|
|
|
|
? |
VM2951
|
SCREW, SELF TAPPING - #6 - 32NC X 5/16" |
4 |
|
|
|
|
? |
EB5973
|
STRIP, CIRCUIT I.D. |
1 |
|
|
|
|
? |
TD1548
|
CAPSCREW - 1/4" - 20NC X 5/8" |
4 |
|
|
|
|
? |
SP8417
|
FLAT WASHER - 1/4" |
4 |
|
|
|
|
? |
DC3584
|
LOCKWASHER - 1/4" |
4 |
|
|
|
|
? |
|
NOTE: NS = NOT SHOWN |
-1 |
|
|
|
|
? |
AK7504
|
LIGHT, SERVICE (SEE FIG 40869) |
2 |
|
40869 |
|
|
? |
VN5153
|
WIRE, GROUND |
3 |
|
|