|
|
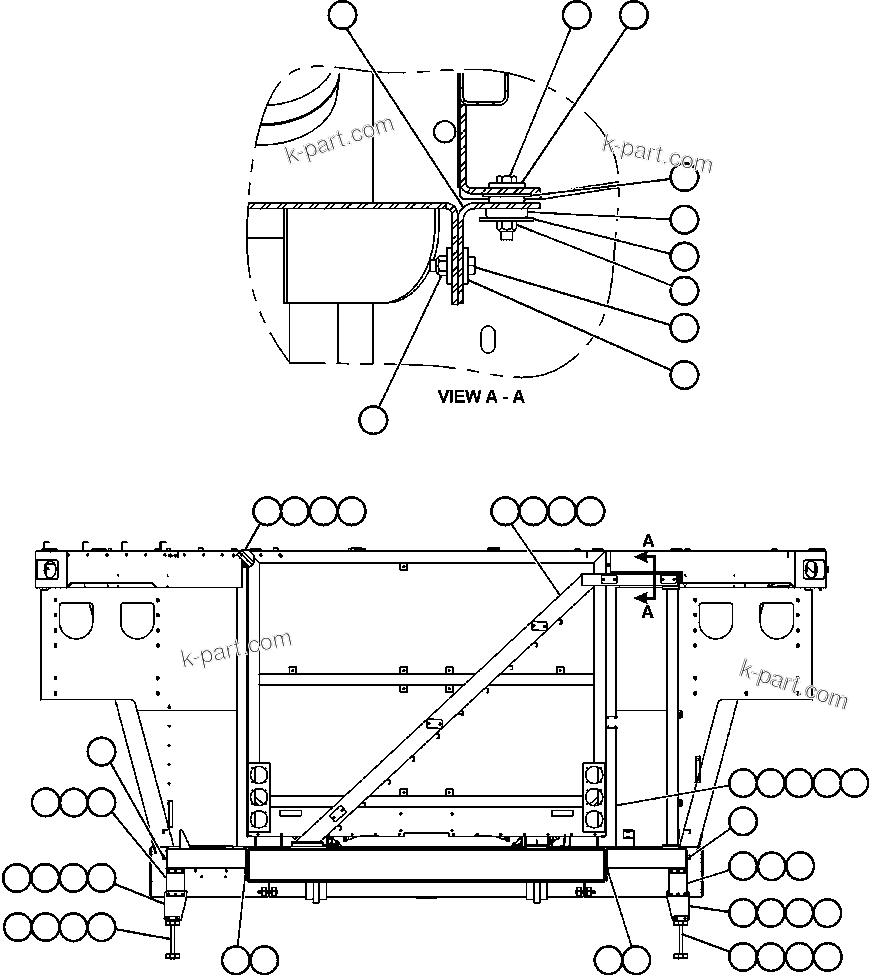
? |
EK6622
|
LADDER, DIAGONAL (STAIRS) |
1 |
|
|
|
|
? |
EJ6571
|
SHIM - 1MM |
10 |
|
|
|
|
? |
MM0620
|
CAPSCREW - M12 X 1.75 X 40 |
11 |
|
|
|
|
? |
MM0714
|
FLAT WASHER - M12 (HARDENED) (ZINC) |
8 |
|
|
|
|
? |
EK6625
|
SUPPORT, LADDER |
1 |
|
|
|
|
? |
EJ7292
|
SHIM - 1MM |
5 |
|
|
|
|
? |
MM0023
|
CAPSCREW - M14 X 2.00 X 30 |
2 |
|
|
|
|
? |
MM0028
|
CAPSCREW - M14 X 2.00 X 35 |
2 |
|
|
|
|
? |
MM0463
|
FLAT WASHER - M14 |
4 |
|
|
|
|
? |
EJ6523
|
PLATFORM - R.H. |
1 |
|
|
|
|
? |
EK4009
|
PLATFORM - L.H. |
1 |
|
|
|
|
? |
ED1035
|
STEP |
2 |
|
|
|
|
? |
TG5720
|
CAPSCREW - 3/8" - 16NC X 1" |
12 |
|
|
|
|
? |
HE5611
|
LOCKNUT - 3/8" - 16NC |
24 |
|
|
|
|
? |
EC7230
|
BAR |
4 |
|
|
|
|
? |
EC6554
|
STRAP |
4 |
|
|
|
|
? |
VC8762
|
CAPSCREW - 3/8" - 16NC X 1 1/2" (G5) (ZINC) |
20 |
|
|
|
|
? |
EB2102
|
BAR |
4 |
|
|
|
|
? |
EC6553
|
STEP |
2 |
|
|
|
|
? |
TV1748
|
CAPSCREW - 5/8" - 11NC X 1 1/2" |
16 |
|
|
|
|
? |
WA4729
|
FLAT WASHER - 5/8" (HARDENED) |
16 |
|
|
|
|
? |
EJ7481
|
PLATE, MOUNTING |
1 |
|
|
|
|
? |
MM0623
|
CAPSCREW - M12 X 1.75 X 60 |
3 |
|
|
|
|
? |
EJ7499
|
WASHER (SPECIAL) |
9 |
|
|
|
|
? |
DA0557
|
WASHER (SPECIAL) |
6 |
|
|
|
|
? |
WA2587
|
MOUNT, RUBBER |
3 |
|
|
|
|
? |
MM0694
|
LOCKNUT - M12 X 1.75 |
6 |
|
|
|
|
? |
AK7503
|
BACKUP LIGHT ASSEMBLY (SEE FIG 42185) |
1 |
|
42185 |
|
|
? |
EK9839
|
HARNESS, RIGHT UPRIGHT/ENGINE SHUTDOWN |
1 |
|
|
|
|
? |
TD0794
|
CAPSCREW - 5/16" - 18NC X 3/4" |
1 |
|
|
|
|
? |
SC4174
|
LOCKWASHER - 5/16" |
1 |
|
|