|
|
? |
943 287 40
|
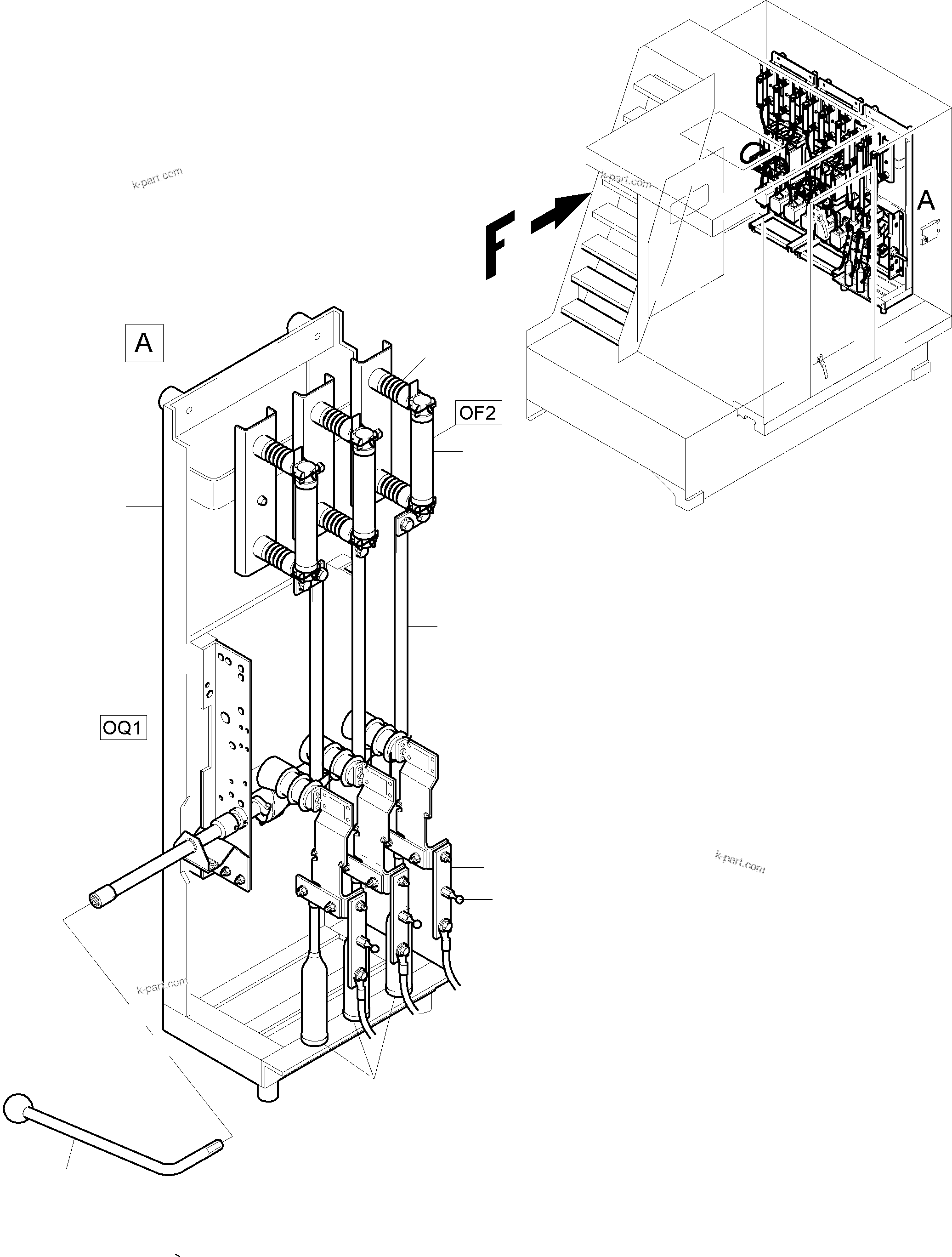
Switch cabinet assy. |
1 |
InternBDB: Fa. AK R 06/06/015.15060.0506 / TL | InternKon: 943 292 40 / 2
|
|
|
|
? |
510 729 98
|
Resilient sleeve |
4 |
InternBDB: Werfel
|
|
|
|
? |
693 154
|
Silencer |
4 |
InternBDB: Phoenix 786 001-45
|
|
|
|
? |
081 323 40
|
Hinge |
2 |
InternBDB: GHE 601 0003
|
|
|
|
? |
463 700 40
|
Seal 8x70x70 |
1 |
|
|
|
|
? |
457 799 40
|
Bolt |
1 |
|
|
|
|
? |
693 151
|
Silencer |
12 |
InternBDB: Phoenix 781 097-45
|
|
|
|
? |
445 211 40
|
Cover |
1 |
|
|
|
|
? |
|
Door |
1 |
InternBDB: 04/10/008.15028.0603
|
|
|
|
? |
440 388 40
|
Profiled joint |
-2 |
InternBDB: Happich 461 0070
|
|
|
|
? |
440 387 40
|
Fastener |
2 |
InternBDB: EMKA 1091-U 1
|
|
|
|
? |
307 775 99
|
Bolt |
18 |
InternBDB: M10x20 /933
|
|
|
|
? |
307 300 99
|
Bolt |
4 |
InternBDB: M8x15/933
|
|
|
|
? |
308 426 99
|
Bolt |
4 |
InternBDB: M16x80 /931
|
|
|
|
? |
766 261 73
|
AC-dry transformer |
1 |
InternBDB: 55 KVA 6600 V 50 Hz 400 V DHKA 120 115 DYN 5 verkettet mit 230V | InternKon: 06/06/015.15060.0506 / 5
|
|
|
|
? |
332 332 99
|
Nut |
5 |
InternBDB: M 8 /934
|
|
|
|
? |
345 176 99
|
Dowel pin |
1 |
InternBDB: 2x14 /1481
|
|
|
|
? |
346 510 99
|
Lock washer |
1 |
InternBDB: 8 /128
|
|
|
|
? |
696 867 73
|
Silencer |
6 |
InternBDB: 781-147-60
|
|
|
|
? |
796 548 73
|
Load-break switch |
1 |
InternBDB: H27EK12-630-20P155X290Y398 /12KV 630ADriescher | InternKon: 06/06/015.15060.0506 / 1
|
|
|
|
? |
795 018 73
|
Shift-lever |
1 |
InternBDB: 0Q1 Driesher C520SW24
|
|
|
|
? |
795 024 73
|
Fuse 25 A |
3 |
InternBDB: 0F2.1 Siba 300 0213 - 25A | InternKon: 06/06/015.15060.0506 / 7
|
|
|
|
? |
696 365 73
|
Current rail 40x5 |
-2 |
InternBDB: Siemens 8 WC 5035
|
|
|
|
? |
692 746
|
Current rail 30x5 |
-2 |
InternBDB: Siemens 8 WC 5033
|
|
|
|
? |
693 187
|
Ball pin |
3 |
InternBDB: Horstmann 1.005.48
|
|
|
|
? |
694 195
|
Insulator |
18 |
InternBDB: 3 FA 1110-7
|
|
|
|
? |
765 912 73
|
Potential transformer |
2 |
InternBDB: GSZ 6 /6600 V 100 V 30 VA /7.2 50 Hz | InternKon: 06/06/015.15060.0506 / 4
|
|
|
|
? |
793 905 73
|
Current transformer |
6 |
InternBDB: GSW 12,0 125/5 A 50 Hz 30 VA 5 P 10 12,5 KA | InternKon: 06/06/015.15060.0506 / 3
|
|
|
|
? |
761 651 73
|
Fuse base |
6 |
InternBDB: 310 102
|
|
|
|
? |
792 853 73
|
Fuse 200 A |
6 |
InternBDB: 0F1.1 Siba 301 0014-200 | InternKon: 06/06/015.15060.0506 / 6
|
|
|
|
? |
796 011 73
|
Vacuum contactor |
2 |
InternBDB: Merlin-Gerin Rollarc 400A /12 KV 230V AC 50 Hz | InternKon: 06/06/015.15060.0506 / 2
|
|
|
|
? |
696 376 73
|
Assembly rail |
-2 |
InternBDB: 18x35 Kuhmann 024 480
|
|
|
|
? |
696 375 73
|
Clamp PG 29 |
-2 |
InternBDB: Kuhmann 04 18 005
|
|
|
|
? |
600 207 99
|
Cable shoe Ш 12 - 102 |
-2 |
InternBDB: Klauke
|
|
|
|
? |
600 223 99
|
Cable shoe Ш 12 - 502 |
-2 |
InternBDB: Klauke
|
|
|
|
? |
600 208 99
|
Cable shoe Ш 10 - 702 |
-2 |
InternBDB: Klauke
|
|
|
|
? |
696 366 73
|
Silicon cable 102 |
-2 |
InternBDB: AEG Rheytherm 180 rotbraun 6 KV-102
|
|
|
|
? |
696 892 73
|
Silicon cable 1202 |
-2 |
InternBDB: AEG Rheytherm 180 rotbraun 6 KV-1202
|
|
|
|
? |
696 373 73
|
Plastic socket PG 29 |
-2 |
InternBDB: Kuhmann 0501 5306
|
|
|
|
? |
696 371 73
|
Plastic pipe PG 29 |
-2 |
InternBDB: A Ш 36 Kuhmann 05 06 316
|
|
|
|
? |
761 576 73
|
Thermostat |
2 |
InternBDB: 6B2 Alco TF 115-S5 AF 06
|
|
|
|
? |
766 506 73
|
Hydrostat |
1 |
InternBDB: JCI EHBC-111 (HC-1240-7001)
|
|
|
|
? |
696 887 73
|
Heater 180 W |
2 |
InternBDB: LM-Therm 180 W 230 V Maxi 50 Hz | InternKon: 06/06/015.15060.0506 / 10
|
|
|
|
? |
761 579 73
|
Heater 250 W |
1 |
InternBDB: LM-Therm 250 W Super-Maxi 230 V 50 Hz | InternKon: 06/06/015.15060.0506 / 11
|
|
|
|
? |
319 061 99
|
Bolt |
8 |
InternBDB: M6x20/84
|
|
|
|
? |
793 909 73
|
Excess-voltage dicharger |
3 |
InternBDB: SPA-12-I-M 12KV 10KA M=250 | InternKon: 06/06/015.15060.0506 / 15
|
|
|
|
? |
502 709 98
|
Assembly rail NS 35/7,5 |
-2 |
InternBDB: Phцnix 0801 730
|
|
|
|
? |
356 265 40
|
Clamp |
-2 |
InternBDB: 116535-04
|
|
|
|
? |
906 630 40
|
Protective wire clip |
-2 |
InternBDB: Wago 870-537
|
|
|
|
? |
906 612 40
|
Clamp |
-2 |
InternBDB: Wago 870-531
|
|
|
|
? |
906 792 40
|
Protective wire clip |
-2 |
InternBDB: Wago 282-907
|
|
|
|
? |
906 768 40
|
Clamp |
-2 |
InternBDB: Wago 282-901
|
|
|
|
? |
634 135 40
|
Fluorescent lamp |
1 |
InternBDB: KIRA KE-CL-DW 6318/24-0 | InternKon: 06/06/015.15060.0506 / 13
|
|
|
|
? |
766 904 73
|
Fluorescent lamp |
1 |
InternBDB: PL-L 18 W /84 P Art-Nr. 201884
|
|
|
|
? |
765 736 73
|
Sensor |
2 |
InternBDB: TK 4236-11Z Schmersal | InternKon: 06/06/015.15060.0506 / 12
|
|
|
|
? |
334 681 99
|
Nut |
6 |
InternBDB: M 10 /985
|
|